CONTROL SYSTEMS > MT Gear Shift Lever
REMOVAL
1. Disconnect the ground cable from battery. NOTE">
NOTE:
For model with battery sensor, disconnect the ground terminal from battery sensor.
2. Remove the console box. Console Box > REMOVAL">
3. Remove the gear shift knob and remove the cover - shift lever.

4. Remove the panel center LWR LH and RH. Console Box > REMOVAL">
5. Remove the clamp.

6. Remove the boot and insulator assembly.

7. Remove the harness clamp from the plate COMPL.

8. Remove the plate COMPL from the vehicle body.

9. Lift up the vehicle.
10. Remove the center exhaust pipe. Center Exhaust Pipe > REMOVAL">
11. Remove the center exhaust cover.

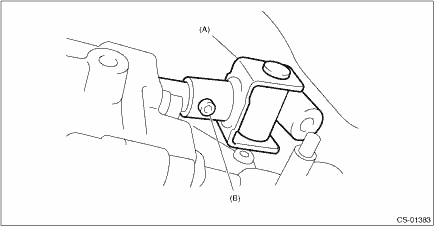
12. Remove the stay from the shift bracket.

(A) | Stay |
(B) | Shift bracket |
13. Remove the rod from joint.

(A) | Stay |
(B) | Rod |
14. Remove the cushion rubber from the vehicle body.

(A) | Stay |
(B) | Cushion rubber |
15. Extract the spring pin and remove the joint.

(A) | Joint |
(B) | Spring pin |
16. Lower the vehicle.
17. Remove the gear shift lever.

Assembly
DisassemblyPrecautions in trouble diagnosis and repair of electric parts
WIRING SYSTEM > Working PrecautionsPRECAUTIONS IN TROUBLE DIAGNOSIS AND REPAIR OF ELECTRIC PARTS1. The battery cable must be disconnected from the battery’s (−) terminal, and the ignition switch must be set to the OFF position, unless otherwise required by the diagnostics.2. Securely ...
Dtc b1837 short in curtain airbag lh squib circuit (to ground)
AIRBAG SYSTEM (DIAGNOSTICS) > Diagnostic Chart with Trouble CodeDTC B1837 SHORT IN CURTAIN AIRBAG LH SQUIB CIRCUIT (TO GROUND)Diagnosis start condition:Ignition voltage is 10 V to 16 V.DTC detecting condition:• Curtain airbag harness (LH) circuit is shorted to ground.• Curtain airbag ...
List of diagnostic trouble code (dtc) List
BODY CONTROL SYSTEM (DIAGNOSTICS) > List of Diagnostic Trouble Code (DTC)LISTDTCItemContent of diagnosisNoteB1010BODY CONTROL SYSTEM (BIU) MALFUNCTIONBody integrated unit internal error Diagnostic Procedure with Diagnostic Trouble Code (DTC) > DTC B1010 BODY CONTROL SYSTEM (BIU) MALFUNCTION&qu ...