CONTROL SYSTEMS > MT Gear Shift Lever
ASSEMBLY
NOTE:
• Clean all the parts before assembly.
• Apply NIGTIGHT LYW No. 2 grease or equivalent to each part. General Description > COMPONENT">
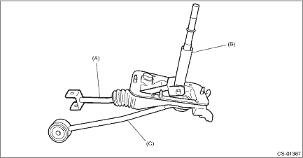
1. Mount the bushing and cushion rubber to the stay.

(A) | Bushing |
(B) | Stay |
(C) | Cushion rubber |
2. Install the bushing and spacer to boss.

(A) | Bushing |
(B) | Spacer |
3. Install the boss to the joint.
NOTE:
Use a new self-locking nut.
Tightening torque:
12 N·m (1.2 kgf-m, 8.9 ft-lb)

4. Install the snap ring to gear shift lever and install the bushing.
NOTE:
Apply grease to the bushing.

(A) | Spring pin |
(B) | Bushing |
(C) | Snap ring |
5. Apply grease to the bushing and O-ring, and then install to gear shift lever.

(A) | O-ring |
(B) | Bushing |
6. Apply sufficient grease into boss, and then install the gear shift lever to the stay.

7. Install the snap ring.

(A) | Snap ring |
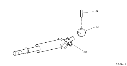
8. Insert the gear shift lever and rod into boot hole.
9. Install the rod.
NOTE:
Use a new self-locking nut.
Tightening torque:
12 N·m (1.2 kgf-m, 8.9 ft-lb)

(A) | Rod |
(B) | Lever |
(C) | Stay |
10. Install the lock wire.
NOTE:
Use a new lock wire.

(A) | Lock wire |
NOTE:
• Install the lock wire to the stay groove.
• Bend the extra wire to the same direction of lock wire winding.

(A) | Inner boot |
(B) | Lock wire |
(C) | Stay |
RemovalDtc b1435 evaporator temperature sensor circuit short-circuit
HVAC SYSTEM (AUTO A/C) (DIAGNOSTICS) > Diagnostic Procedure with Diagnostic Trouble Code (DTC)DTC B1435 EVAPORATOR TEMPERATURE SENSOR CIRCUIT SHORT-CIRCUITDTC detecting condition:Evaporator sensor circuit is shorted.Trouble symptom:Evaporator temperature is falsely recognized as high, and the com ...
Dtc u0155 lost communication with instrument panel cluster (ipc) control module
TELEMATICS SYSTEM (DIAGNOSTICS) > Diagnostic Procedure with Diagnostic Trouble Code (DTC)DTC U0155 LOST COMMUNICATION WITH INSTRUMENT PANEL CLUSTER (IPC) CONTROL MODULEDetected when CAN data from combination meter does not arrive.NOTE:Perform the diagnosis for LAN system. Basic Diagnostic Proced ...
Connecting a trailer
Ball mount
Hitch pin
Safety pin
Hitch receiver tube
1. Insert the ball mount into the hitch
receiver tube.
2. Insert the hitch pin into the hole
located on the hitch receiver tube so that
the pin passes through the ball mount.
3. Insert the safety pin through the hole
locat ...