CONTROL SYSTEMS > MT Gear Shift Lever
INSTALLATION
1. Insert the gear shift lever from the room side.
NOTE:
Insert the rod and the stay, and then temporarily set them onto the transmission mount.

2. Lift up the vehicle.
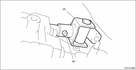
3. Install the joint to the transmission and secure with a spring pin.

(A) | Joint |
(B) | Spring pin |
4. Mount the cushion rubber on the vehicle body.
Tightening torque:
18 N·m (1.8 kgf-m, 13.3 ft-lb)

(A) | Stay |
(B) | Cushion rubber |
5. Connect the rod to the joint.
NOTE:
Use a new self-locking nut.
Tightening torque:
12 N·m (1.2 kgf-m, 8.9 ft-lb)

(A) | Stay |
(B) | Rod |
6. Connect the stay to the shift bracket, and tighten the self-locking nut.
NOTE:
Use a new self-locking nut.
Tightening torque:
18 N·m (1.8 kgf-m, 13.3 ft-lb)

(A) | Stay |
(B) | Shift bracket |
7. Install the center exhaust cover.
Tightening torque:
18 N·m (1.8 kgf-m, 13.3 ft-lb)

8. Install the center exhaust pipe. Center Exhaust Pipe > INSTALLATION">
9. Lower the vehicle.
10. Install the plate COMPL to the body.
Tightening torque:
18 N·m (1.8 kgf-m, 13.3 ft-lb)
(1) Set the plate COMPL to the vehicle.
(2) Temporarily tighten the bolt (A).
(3) Tighten the bolt (B).
(4) Tighten the bolt (A).
(5) Tighten the bolts (C) and (D).

11. Install the harness clamp to the plate.
12. Install the boot and insulator assembly, and secure with a clamp.

13. Install the panel center LWR LH and RH. Console Box > INSTALLATION">
14. Install the cover - shift lever, and install the gear shift knob.
15. Install the console box. Console Box > INSTALLATION">
16. Make sure the gears can be shifted accurately into each gear.
17. Connect the battery ground terminal.
Inspection
Select cableRear towing hook
1. Take the towing hook and screwdriver
out of the tool bucket. Take the jack
handle out of the cargo area.
2. Pry off the cover on the rear bumper
using a screwdriver, and you will find a
threaded hole for attaching the towing
hook.
3. Screw the towing hook into the thread
hole unti ...
Dtc b1430 in-vehicle (post evaporator) temperature sensor circuit open
HVAC SYSTEM (AUTO A/C) (DIAGNOSTICS) > Diagnostic Procedure with Diagnostic Trouble Code (DTC)DTC B1430 IN-VEHICLE (POST EVAPORATOR) TEMPERATURE SENSOR CIRCUIT OPENDTC detecting condition:In-vehicle sensor circuit is open.Trouble symptom:In-vehicle air temperature is falsely recognized as 25& ...
Dtc p1497 coil 3 egr "a" control circuit high
ENGINE (DIAGNOSTICS)(H4DO) > Diagnostic Procedure with Diagnostic Trouble Code (DTC)DTC P1497 COIL 3 EGR "A" CONTROL CIRCUIT HIGHNOTE:For the diagnostic procedure, refer to DTC P1499. Diagnostic Procedure with Diagnostic Trouble Code (DTC) > DTC P1499 COIL 4 EGR "A" CONTRO ...