MANUAL TRANSMISSION AND DIFFERENTIAL(5MT) > Transfer Driven Gear
DISASSEMBLY
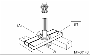
1. Using the ST, remove the taper roller bearing (extension case side).
| ST 498077000 | REMOVER |

(A) | Taper roller bearing (extension case side) |
2. Using ST1 and ST2, remove the taper roller bearing (transfer case side).
| ST1 498077000 | REMOVER |
| ST2 899864100 | REMOVER |

(A) | Taper roller bearing (transfer case side) |
Removal
InspectionTips
The system can be armed even if the
engine hood, windows and/or moonroof
are open. Always make sure that they are
fully closed before arming the system.
The 30-second standby time can be
eliminated if you prefer. Have it performed
by your SUBARU dealer.
The system is in the standby ...
Continuously variable transmission
WARNING
Do not shift from the "P" or "N"
position into the "D" or "R" position
while depressing the accelerator
pedal. This may cause the vehicle
to jump forward or backward.
CAUTION
Observe the following precautions.
Failure to observe these
precautions could cause damage
to the transmi ...
Dtc b1507 external air temperature open/short-circuit detection
INSTRUMENTATION/DRIVER INFO (DIAGNOSTICS) > Diagnostic Procedure with Diagnostic Trouble Code (DTC)DTC B1507 EXTERNAL AIR TEMPERATURE OPEN/SHORT-CIRCUIT DETECTIONDTC detecting condition:Open or short circuit in ambient sensorTrouble symptom:• Defective ambient temperature display• Def ...