MECHANICAL(H4DO) > V-belt
INSTALLATION
1. V-BELT
Install in the reverse order of removal.
CAUTION:
• When reusing the V-belt, wipe off dust and water with cloth.
• Do not use the V-belt if there is any oil, grease or coolant on the belt.
• Be careful not to rub the V-belt end surface with bare hands; exposed core may cause injury.
• Wipe off any dust, oil and water on the groove of each pulley with cloth.

(A) | V-belt | (D) | V-belt tensioner ASSY | (G) | A/C compressor pulley |
(B) | Water pump pulley | (E) | Generator pulley | ||
(C) | Crank pulley | (F) | Idler pulley |
Tightening torque:
7 N·m (0.7 kgf-m, 5.2 ft-lb)

2. V-BELT TENSIONER ASSEMBLY AND IDLER PULLEY
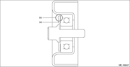
1. Install the idler pulley to the chain cover.
NOTE:
When installing the idler pulley, be careful of the idler pulley cover direction.

(a) | Idler pulley cover | (b) | Protrusion (3 places) |
Tightening torque:
36 N·m (3.7 kgf-m, 26.6 ft-lb)

2. Install the V-belt tensioner assembly onto the generator bracket.
NOTE:
When installing the V-belt tensioner assembly, insert the protrusion of V-belt tensioner assembly into the hole for preventing rotation at the generator bracket.

(A) | V-belt tensioner ASSY | (C) | Hole to prevent rotation | (D) | Protrusion portion |
(B) | Generator bracket |
Tightening torque:
25 N·m (2.5 kgf-m, 18.4 ft-lb)

3. Install the cap to the V-belt tensioner assembly.

4. Install the V-belts.
Removal
Compression InspectionInstallation
GLASS/WINDOWS/MIRRORS > Rear Door GlassINSTALLATIONCAUTION:• Check that the running channel - rear door is securely fixed to the panel assembly - rear door and to the sash COMPL - rear partition.• Before installing the glass assembly - rear door, check the lip of the running channel - ...
Dtc p0021 "a" camshaft position - timing over-advanced or system performance bank 2
ENGINE (DIAGNOSTICS)(H4DO) > Diagnostic Procedure with Diagnostic Trouble Code (DTC)DTC P0021 "A" CAMSHAFT POSITION - TIMING OVER-ADVANCED OR SYSTEM PERFORMANCE BANK 2DTC detecting condition:Detected when two consecutive driving cycles with fault occur.Trouble symptom:• Engine sta ...
Immobilizer
The immobilizer system is designed to
prevent an unauthorized person from
starting the engine. Only keys registered
with your vehicle's immobilizer system can
be used to operate your vehicle. This
system, however, is not a 100% anti-theft
guarantee.
For models with "keyless access with
pus ...