MANUAL TRANSMISSION AND DIFFERENTIAL(5MT) > Main Shaft Assembly
INSTALLATION
1. Attach the needle bearing and oil seal to the front of the main shaft assembly.
NOTE:
• Wrap the clutch splined section with vinyl tape to prevent damage to the oil seal.
• Apply NICHIMOLY N-130 or the equivalent to the sealing lip of the oil seal.
• Use a new oil seal.
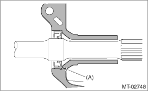
2. Fit the knock pin hole of the needle bearing outer race to the transmission case knock pin, and install the main shaft assembly.
NOTE:
• Align the end face of the seal with surface (A) when installing the oil seal.

• Face the cutout portion of the snap ring for the ball bearing to the drive pinion shaft assembly.

3. Install the drive pinion shaft assembly. Drive Pinion Shaft Assembly > INSTALLATION">
4. Check each shifter fork. Shifter Fork and Rod > INSPECTION">
5. Select a main shaft rear plate. Main Shaft Assembly > ADJUSTMENT">
6. Install the transmission case. Transmission Case > INSTALLATION">
7. Install the transfer case together with the extension case assembly. Transfer Case and Extension Case Assembly > INSTALLATION">
8. Install the manual transmission assembly to the vehicle. Manual Transmission Assembly > INSTALLATION">
InspectionInspection
CRUISE CONTROL SYSTEM > Cruise Control Command SwitchINSPECTION1. Measure the resistance between connector terminals.Preparation tool:Circuit testerTerminal No.Inspection conditionsStandard3 — 9CANCELSET/−RES/+All OFFApprox. 4,020 ?CANCELONLess than 1 ?SET/−ONApprox. 250 ?RES/+ONApp ...
Instrument panel wiring harness Location
WIRING SYSTEM > Instrument Panel Wiring HarnessLOCATIONConnectorConnecting toNo.PoleColorAreaNo.Descriptioni210D-1R339Rear wiring harness LHi520C-1 F/Bi74GrayB-4 MFD switchi1040B-3 Combination meteri156C-4 Blower fan switch (manual A/C)i1616B-4 A/C control panel (manual A/C)i224B-4 Hazard switchi ...
Installation
DRIVE SHAFT SYSTEM > Front AxleINSTALLATION1. Install the front drive shaft assembly.CAUTION:• Do not hammer the drive shaft assembly when installing.• Use new axle nuts.(1) Insert the drive shaft assembly into the hub spline, and pull it into the specified position.(2) Tighten the ax ...