MANUAL TRANSMISSION AND DIFFERENTIAL(5MT) > Main Shaft Assembly
INSPECTION
Disassembled parts should be washed with cleaning solvent first, then inspected carefully.
1. Bearing
Replace the bearings in the following cases.
• When the bearing balls, outer races and inner races are broken or rusty.
• When the bearing is worn.
• When the bearings fail to turn smoothly or emit noise in rotation after transmission gear oil has been applied.
• When bearing has other defects.
2. Bushing (each gear)
Replace the bushing in following cases.
• When the sliding surface is damaged or abnormally worn.
• When the inner wall is abnormally worn.
3. Gear
Replace gears in the following cases.
• Replace the gear with new part if its tooth surfaces are broken, damaged or excessively worn.
• Correct or replace if the cone that contacts the baulk ring is rough or damaged.
• Correct or replace if the inner surface or end face is damaged.
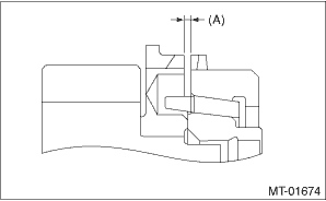
4. Baulk ring, synchro cone
Replace the baulk ring and synchro cone in the following cases.
• When the inner surface and end face are damaged.
• When the baulk ring inner surface is abnormally or partially worn down.
• When the contact surface of the baulk ring insert section is cracked or abnormally worn.
• If the gap between the end faces of the baulk ring and the gear splined part is excessively small, check the clearance (A) while pressing the ring against the cone.
Clearance (A):
0.5 mm (0.020 in) or more
Single cone

Double cone

• Apply transmission gear oil to the cone of the gear and while press-fitting the baulk ring, check there is no rotation in the circumferential direction.
5. Shifting insert
Replace the shifting insert if deformed, excessively worn or defective in any way.
6. Coupling sleeve and synchronizer hub
• Check the slipping condition of the coupling sleeve.
• Check the splines on the coupling sleeve and synchronizer hub for wear.
7. Oil seal
Replace the oil seal if the lip is deformed, hardened, worn or defective in any way.
8. Gearshift mechanism
Repair or replace the gearshift mechanism if excessively worn, bent or defective in any way.
Disassembly
InstallationDtc u1651 lost communication with meter (uart)
INSTRUMENTATION/DRIVER INFO (DIAGNOSTICS) > Diagnostic Procedure with Diagnostic Trouble Code (DTC)DTC U1651 LOST COMMUNICATION WITH METER (UART)DTC detecting condition:UART data from combination meter is not received.Trouble symptom:LCD is not displayed.Wiring diagram:Multi-function display (MFD ...
Dtc p013a o2 sensor slow response - rich to lean bank 1 sensor 2
ENGINE (DIAGNOSTICS)(H4DO) > Diagnostic Procedure with Diagnostic Trouble Code (DTC)DTC P013A O2 SENSOR SLOW RESPONSE - RICH TO LEAN BANK 1 SENSOR 2DTC detecting condition:Detected when two consecutive driving cycles with fault occur.CAUTION:After servicing or replacing faulty parts, perform Clea ...
Installation
BRAKE > Brake BoosterINSTALLATION1. Check and adjust the operating rod of the vacuum booster assembly.(1) Measure the length between the vacuum booster assembly mounting surface and clevis pin hole.(2) If it is not within the specification, loosen the lock nut, rotate the vacuum booster assembly ...