MANUAL TRANSMISSION AND DIFFERENTIAL(5MT) > Main Shaft Assembly
DISASSEMBLY
1. Put vinyl tape around main shaft spline to protect the oil seal from damage. Then pull out the oil seal and needle bearing by hand.
2. Remove the lock nut and lock washer.
NOTE:
Flatten the lock nut tab before removing the lock nut.
| ST1 498937000 | TRANSMISSION HOLDER |
| ST2 499987003 | SOCKET WRENCH (35) |

3. Remove the 5th hub & sleeve No. 2, baulk lever, 5th baulk ring, and 5th drive gear & needle bearing.

(A) | 5th hub & sleeve No. 2 |
(B) | 5th baulk ring |
(C) | 5th drive gear |
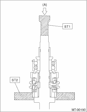
4. Using ST1 and ST2, remove the rest of the parts.
NOTE:
• When replacing the sleeve & hub, replace them as a set.
• Do not disassemble the sleeve & hub; the engaging point is pre-determined.
• If it is necessary to disassemble, mark the engaging points on the splines beforehand.
| ST1 899864100 | REMOVER |
| ST2 899714110 | REMOVER |

(A) | Press |
Assembly
InspectionInstallation
CLUTCH SYSTEM > Clutch Disc and CoverINSTALLATION1. Insert the ST into the clutch disc and the ST end into pilot bearing to install the clutch disc.NOTE:When installing the clutch disc, be careful to attach in the correct direction.ST 499747100CLUTCH DISC GUIDE(A)Flywheel side2. Install the cl ...
Dtc c2224 transmitter 4 pressure data abnormal
TIRE PRESSURE MONITORING SYSTEM (DIAGNOSTICS) > Diagnostic Procedure with Diagnostic Trouble Code (DTC)DTC C2224 TRANSMITTER 4 PRESSURE DATA ABNORMALDTC DETECTING CONDITION:Detected when error data is received from each transmitter at a vehicle speed of 40 km/h (25 MPH) or more.• When compa ...
Dtc u0073 control module communication bus off
ENGINE (DIAGNOSTICS)(H4DO) > Diagnostic Procedure with Diagnostic Trouble Code (DTC)DTC U0073 CONTROL MODULE COMMUNICATION BUS OFFNOTE:For the diagnostic procedure, refer to LAN section. Basic Diagnostic Procedure">1. OUTLINE OF DIAGNOSISDetect malfunction of CAN communication.Judge as N ...