EMISSION CONTROL (AUX. EMISSION CONTROL DEVICES)(H4DO) > Leak Check Valve Assembly
INSTALLATION
1. Install the leak check valve assembly to the vehicle with the bolt and clip (A).
Tightening torque:
7.5 N·m (0.8 kgf-m, 5.5 ft-lb)


2. Connect the connector to the leak check valve assembly.

3. Connect the intake hose (C) to the connector.
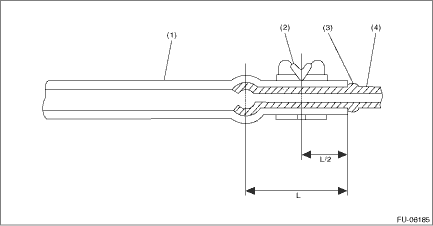
4. Securely insert the fuel filler hose (A) and evaporation hose (B) until the hose end contacts the spool, then attach the clamp and clip as shown in the figure.
Tightening torque:
2.5 N·m (0.3 kgf-m, 1.8 ft-lb)


(1) | Hose | (3) | Spool | (4) | Pipe |
(2) | Clamp and clip |
5. Connect the drain tube to the canister.
NOTE:
Connect the quick connector as shown in the figure.


6. Lift up the transmission jack gradually, and set the rear differential to the rear sub frame assembly.
NOTE:
When inserting the stud bolt into the bushing portion of the rear sub frame assembly, adjust the angle and location of transmission jack and jack stand.

7. Temporarily tighten the self-locking nuts which hold the rear differential to the rear sub frame assembly.
NOTE:
Use a new self-locking nut.

8. Set the rear differential member to the rear sub frame assembly and rear differential, and temporarily tighten the self-lock nuts which secure the rear differential member to the rear sub frame assembly and rear differential.
NOTE:
Use a new self-locking nut.

9. Remove the transmission jack from the rear differential.
10. Tighten the self-locking nuts which secure the rear differential member to the rear sub frame assembly and rear differential.
Tightening torque:
T1: 50 N·m (5.1 kgf-m, 36.9 ft-lb)
T2: 110 N·m (11.2 kgf-m, 81.1 ft-lb)

11. Tighten the self-locking nuts which secure the rear differential to the rear sub frame assembly.
Tightening torque:
70 N·m (7.1 kgf-m, 51.6 ft-lb)

12. Install the propeller shaft. Propeller Shaft > INSTALLATION">
13. Install the rear exhaust pipe. Rear Exhaust Pipe > INSTALLATION">
14. Lower the vehicle.
15. Connect the battery ground terminal.

Inspection
Pcv hoseInspection
SECURITY AND LOCKS > Ignition Key LockINSPECTIONPreparation tool:Circuit tester1. Check the resistance between switch terminals.Terminal No.Inspection conditionsStandardBetween all terminals(A)LOCK1 M? or more2 — 4(B)ACCLess than 1 ?1 — 2 — 45 — 6(C)ONLess than 1 ?1 — 3 — 45 — 6 — ...
Dtc p0459 evap system (cpc) purge control valve "a" circuit high
ENGINE (DIAGNOSTICS)(H4DO) > Diagnostic Procedure with Diagnostic Trouble Code (DTC)DTC P0459 EVAP SYSTEM (CPC) PURGE CONTROL VALVE "A" CIRCUIT HIGHDTC detecting condition:Detected when two consecutive driving cycles with fault occur.Trouble symptom:Improper idlingCAUTION:After servicin ...
Dtc u0101 lost communication with tcm
LAN SYSTEM (DIAGNOSTICS) > Diagnostic Procedure with Diagnostic Trouble Code (DTC)DTC U0101 LOST COMMUNICATION WITH TCMDTC detecting condition:No data is received from TCM.Trouble symptom:Cooperation control with transmission is not performed.STEPCHECKYESNO1.CHECK PERFORMING OF BASIC DIAGNOSTIC P ...