EMISSION CONTROL (AUX. EMISSION CONTROL DEVICES)(H4DO) > Leak Check Valve Assembly
INSPECTION
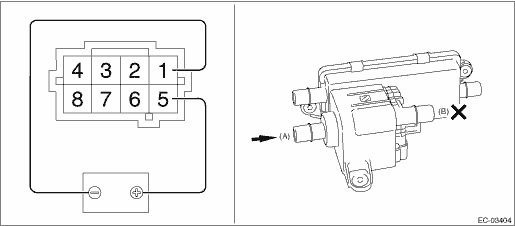
1. CHECK SWITCHING VALVE
1. Check the resistance between switching valve terminals.

Terminal No. | Standard |
1 and 5 | 27+3 −2 ? (when 20°C (68°F)) |
31±4 ? (60°C (140°F)) |
2. Check that air is discharged from (B) when air is blown into (A).

3. Connect the battery positive terminal to the terminal No. 5 and the battery negative terminal to the terminal No. 1. Check that air does not come out from (B) when air is blown into (A).
NOTE:
The purpose of this inspection is to check the valve movement, and it would be success if a large change of flow can be checked resulting from valve opening/closing. Therefore, it does not indicate a malfunction if a small amount of flow from (B) is detected when the valve is opened.

2. CHECK VACUUM PUMP
1. Connect the battery positive terminal to terminal No. 3 and the battery ground terminal to terminal No. 4, and inspect the vacuum pump operation.
CAUTION:
Do not operate the vacuum pump for 5 minutes or more.

3. CHECK PRESSURE SENSOR
1. Connect dry-cell battery positive terminal to terminal No. 6 and dry-cell battery ground terminal to terminal No. 8, circuit tester positive terminal to terminal No. 7 and the circuit tester negative terminal to terminal No. 8.
NOTE:
• Use new dry-cell batteries.
• Using circuit tester, check the voltage of a single dry-cell battery is 1.6 V or more. And also check the voltage of three batteries in series is between 4.8 V and 5.2 V.
• For power supply, 5 V DC voltage source can also be used.

2. Check the voltage at a normal atmospheric pressure.
NOTE:
The atmospheric pressure at higher altitude is lower than normal. Therefore, the voltage is lower than the standard value.
Terminal No. | Standard |
7 (+) and 8 (−) | Approx. 3.5 V (when 25°C (77°F)) |
3. Connect the battery positive terminal to terminal No. 3 and the battery ground terminal to terminal No. 4, and check that there is a voltage drop from the voltage measured in step 2) when the vacuum pump is operated.

4. OTHER INSPECTIONS
1. Check that the leak check valve assembly has no deformation, cracks or other damages.
2. Check that the tube or hose have no cracks, damage or loose part.
Disassembly
InstallationDisassembly
LIGHTING SYSTEM > Headlight AssemblyDISASSEMBLY1. HID HEADLIGHT BALLASTCAUTION:Do not leave the light assembly - head without the ballast - headlight for a long time. Dust, moisture, etc. entering the light assembly - head may affect its performance.1. Remove the cover - headlight.2. Disconnect t ...
Dtc p0020 "a" camshaft position actuator control circuit/open bank 2
ENGINE (DIAGNOSTICS)(H4DO) > Diagnostic Procedure with Diagnostic Trouble Code (DTC)DTC P0020 "A" CAMSHAFT POSITION ACTUATOR CONTROL CIRCUIT/OPEN BANK 2DTC detecting condition:Immediately at fault recognitionTrouble symptom:Improper idlingCAUTION:After servicing or replacing faulty part ...
Dtc c0072 abnormal yaw rate sensor output
VEHICLE DYNAMICS CONTROL (VDC) (DIAGNOSTICS) > Diagnostic Procedure with Diagnostic Trouble Code (DTC)DTC C0072 ABNORMAL YAW RATE SENSOR OUTPUTDTC DETECTING CONDITION:Defective yaw rate sensorTROUBLE SYMPTOM:• VDC does not operate.• EyeSight does not operate.STEPCHECKYESNO1.INTERVIEW ...