STARTING/CHARGING SYSTEMS(H4DO) > Starter
INSPECTION
NOTE:
• After the inspection, reinstall the disassembled or removed parts during the inspection in the reverse order of disassembly/removal procedure.
• Refer to component for tightening torque of each part. General Description > COMPONENT">
1. ARMATURE
1. Check the commutator for signs of seizure or stepped wear caused by roughness of the surface. If there is light wear, use sandpaper to repair.
2. Check for runout on the commutator. If excessive, replace the armature.
Commutator runout:
Standard
0.05 mm (0.0020 in)
Limit
0.10 mm (0.0039 in)

(A) | Dial gauge | (B) | V-block |
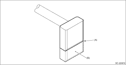
3. Check the depth of the segment mold. If it is not within the standard, replace the armature.
Depth of segment mold:
Standard
0.50 mm (0.020 in)

(A) | Depth of mold | (B) | Segment | (C) | Mold |
4. Place the armature on the growler tester to check for short circuits. While slowly turning the armature, support the steel sheet for the armature core. If the circuit of the armature is shorted, the steel sheet will vibrate, causing it to move towards the core. When the steel sheet has moved or vibrated, replace the armature.

(A) | Steel sheet | (B) | Growler tester |
5. Use a circuit tester to touch the probe of one side to the commutator segment, and the other probe to the shaft. If there is continuity, replace the armature.

2. YOKE
Make sure that the pole is set at the predetermined position.
3. OVERRUNNING CLUTCH
Inspect the pinion, and if there is any wear or damage, replace the overrunning clutch. Also, check that the pinion rotates counterclockwise smoothly and does not rotate clockwise. If there is any fault, replace the overrunning clutch.
CAUTION:
To prevent spilling of grease, do not clean the overrunning clutch with oil.
4. BRUSH AND BRUSH HOLDER
1. Visually check the brush. If there is any abnormal wear or cracks, replace the brush.
2. Measure the length of the brush. If it exceeds service limits, replace the brush.
Brush length:
Standard
12.3 mm (0.484 in)
Limit
7.0 mm (0.276 in)

(A) | Service limit line | (B) | Brush |
3. Check that the brush moves smoothly in the brush holder.
4. Measure the brush spring force with a spring scale. Replace the brush holder if below the service limit.
Brush spring force:
Standard
15.9 — 19.5 N (1.62 — 1.99 kgf, 3.57 — 4.38 lbf) (when new)
Limit
2.5 N (0.25 kgf, 0.56 lbf)
5. SWITCH ASSEMBLY
Using a circuit tester, check there is continuity between S terminal and M terminal, and between S terminal and ground. Also, check that there is no continuity between M terminal and B terminal.

(A) | Terminal S | (B) | Terminal M | (C) | Terminal B |
Terminals | Standard |
Terminal S — terminal M | 1 ? or less |
Terminal S — Ground | 1 ? or less |
Terminal M — terminal B | 1 M? or more |
6. SWITCH ASSEMBLY OPERATION
CAUTION:
Perform the inspection in a short period of time. (Within 3 to 5 seconds)
1. Loosen the nut which holds the cable to the M terminal.
NOTE:
This procedure is required to facilitate the cable removal from the M terminal.

2. Connect the battery positive terminal to the switch assembly S terminal, and connect the battery negative terminal to the starter body. Then, if the pinion protrudes, it is normal.
NOTE:
The starter motor may rotate while the pinion protrudes. This occurs due to current that flows to the motor via pull-in coil. This is not a problem.

(A) | Terminal S |
3. Disconnect the cable from the M terminal. Check that the pinion is being protruded at this time.
CAUTION:
Hold the disconnected cable so that it does not contact the terminal or wiring.
4. Disconnect the battery negative terminal from the starter body. Then, if the pinion returns to its original position, it is normal.

(A) | Terminal S |
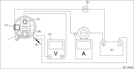
7. NO-LOAD TEST
CAUTION:
• Use a thick cable due to large current flowing through the cable.
• It is recommended that the cross-section area of continuity part (shaded part) should be 20 mm2 (0.00310 sq in) or more for terminal B and ground, and 1.25 mm2 (0.00194 sq in) or more for terminal S.

(a) | Cable cross-section | (b) | Cable shield part | (c) | Cable continuity part |
• It is possible to use a booster cable instead of wiring.
• Be careful not to burn yourself and cause a fire due to heat.
• Perform the no-load test in a short period of time. (Within 3 to 5 seconds)
NOTE:
For no-load test, use the circuit shown in figure.

(A) | Terminal S | (B) | Terminal M | (C) | Terminal B |
(D) | Magnet switch | (E) | Switch | (F) | Circuit tester with clamp-type ammeter |
(G) | Circuit tester |
1. Using a vise, secure the starter.
CAUTION:
Be careful not to deform or damage the starter.
2. Turn the switch ON, and check that the pinion protrudes rapidly into the specified position and rotates powerfully without noise.
3. Check the current and voltage after its rotation speed stabilizes.
Current/Voltage
CVT model
90 A or less (approx. 11 V)
MT model
95 A or less (approx. 11 V)
8. OTHER INSPECTIONS
Check that the starter does not have deformation, cracks and any other damage.
Disassembly
InstallationInspection
FUEL INJECTION (FUEL SYSTEMS)(H4DO) > Engine Oil Temperature SensorINSPECTION1. Check that the engine oil temperature sensor has no deformation, cracks or other damages.2. Immerse the engine oil temperature sensor and a thermometer in water.CAUTION:Take care not to allow water to get into the eng ...
General precautions regarding SRS airbag system
WARNING
To obtain maximum protection in
the event of an accident, the
driver and all passengers must
always wear seatbelts when in
the vehicle. The SRS airbag is
designed only to be a supplement
to the primary protection
provided by the seatbelt. It does
not eliminate the need to ...
Dtc p013b o2 sensor slow response - lean to rich bank 1 sensor 2
ENGINE (DIAGNOSTICS)(H4DO) > Diagnostic Procedure with Diagnostic Trouble Code (DTC)DTC P013B O2 SENSOR SLOW RESPONSE - LEAN TO RICH BANK 1 SENSOR 2NOTE:For the diagnostic procedure, refer to DTC P013A. Diagnostic Procedure with Diagnostic Trouble Code (DTC) > DTC P013A O2 SENSOR SLOW RESPONS ...