STARTING/CHARGING SYSTEMS(H4DO) > Starter
DISASSEMBLY
CAUTION:
The starter should be placed through a no-load test whenever it has been overhauled.
1. Disconnect the cable from the magnet switch assembly.

2. Remove the magnet switch assembly from the starter housing assembly.

3. Remove screws (A) of the brush holder assembly, and through bolts (B) on both sides, and remove the starter cover assembly.

4. Remove the brush holder assembly from the armature assembly.
NOTE:
Hold the brush with your fingers so that the brush spring does not come flying out.

5. Remove the armature assembly and yoke assembly from the starter housing assembly together as a single unit.

6. Separate the armature assembly and yoke assembly.

7. Remove the pinion gear from the internal gear assembly.

8. Remove seal rubber (A), plate (B), and seal rubber (C).

9. Lightly tap the starter housing assembly with a plastic hammer as shown in the figure, and remove the overrunning clutch, internal gear assembly, shaft and shift lever together as one unit.

10. Use the following procedures to remove the overrunning clutch from the shaft.
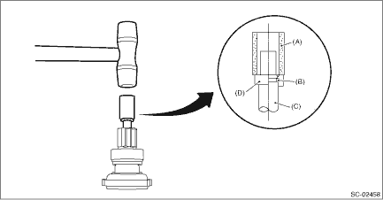
(1) Use an appropriate tool (such as a fit socket wrench), and remove the stopper from snap ring by lightly tapping the stopper with a plastic hammer.

(A) | Appropriate tool | (B) | Snap ring | (C) | Shaft |
(D) | Stopper |
(2) Remove snap ring (A) from the shaft, and remove stopper (B).

(3) Remove the overrunning clutch from the shaft.

11. Separate the internal gear assembly and shaft.

Removal
InspectionReplacement of brake pad and lining
The disc brakes have audible wear
indicators on the brake pads. If the brake
pads wear close to their service limit, the
wear indicator makes a very audible
scraping noise when the brake pedal is
applied.
If you hear this scraping noise each time
you apply the brake pedal, have the brak ...
Caution
IGNITION(H4DO) > General DescriptionCAUTION• Prior to starting work, pay special attention to the following:1. Always wear work clothes, a work cap, and protective shoes. Additionally, wear a helmet, protective goggles, etc. if necessary.2. Protect the vehicle using a seat cover, fender cov ...
Dtc u0327 software incompatibility with vehicle security control module
INSTRUMENTATION/DRIVER INFO (DIAGNOSTICS) > Diagnostic Procedure with Diagnostic Trouble Code (DTC)DTC U0327 SOFTWARE INCOMPATIBILITY WITH VEHICLE SECURITY CONTROL MODULEDetected when CAN data is not received from keyless access CM.NOTE:Perform the diagnosis for LAN system. Basic Diagnostic Proc ...