REAR SUSPENSION > Rear Shock Absorber
DISPOSAL
CAUTION:
• Before discarding the strut COMPL and the shock absorber COMPL, be sure to wear goggles to protect eyes from gas, oil and cutting powder.
• Do not disassemble the strut COMPL and the shock absorber COMPL or throw them into flames.
• When discarding the strut COMPL and the shock absorber COMPL filled with gas, drill a hole on them to purge the gas.
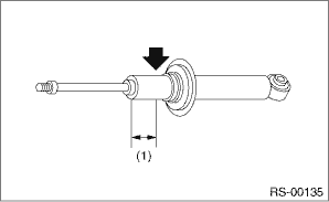
1. Place the shock absorber on a level surface with the piston rod fully expanded.
2. Make a hole into the specified position 30 mm (1.18 in) deep using a drill with 2 — 3 mm (0.08 — 0.12 in) diameter.

(1) | 40 mm (1.57 in) |
Disassembly
InspectionCommunication for initializing impossible
KEYLESS ACCESS WITH PUSH BUTTON START SYSTEM (DIAGNOSTICS) > Subaru Select MonitorCOMMUNICATION FOR INITIALIZING IMPOSSIBLENOTE:Confirm that the LAN system is working properly before the diagnosis.Subaru Select Monitor communication line is open or shorted.Detecting condition:• Defective ha ...
Installation
EXHAUST(H4DO) > Front Exhaust PipeINSTALLATION1. Set the front exhaust pip and center exhaust pipe to the vehicle, and temporally tighten the nuts which secure the front exhaust pipe to cylinder head.NOTE:Use a new gasket.2. Install the bolts, springs, and nuts which secure the rear exhaust pipe ...
Dtc u0402 invalid data received from tcm
ENGINE (DIAGNOSTICS)(H4DO) > Diagnostic Procedure with Diagnostic Trouble Code (DTC)DTC U0402 INVALID DATA RECEIVED FROM TCMNOTE:For the diagnostic procedure, refer to LAN section. Basic Diagnostic Procedure">1. OUTLINE OF DIAGNOSISDetect malfunction of CAN communication.Judge as NG when ...