FRONT SUSPENSION > Front Strut
DISPOSAL
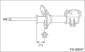
CAUTION:
• Before handling the strut damper and shock absorber, be sure to wear goggles to protect eyes from gas, oil and cutting powder.
• Do not disassemble the strut damper and shock absorber or place them into a fire.
• When discarding gas filled strut dampers and shock absorbers, drill holes in them to purge the gas.
1. Place the strut damper and shock absorber on a level surface with the piston rod fully expanded.
2. Make a hole into the specified position 30 mm (1.18 in) deep using a drill with 2 — 3 mm (0.08 — 0.12 in) diameter.

(1) | 40 mm (1.57 in) |
Disassembly
InspectionHeadlight beam leveler (if equipped)
Automatic headlight beam leveler (models with
HID headlights)
The HID headlights generate more light
than conventional halogen headlights.
Therefore a driver of an oncoming vehicle
may experience too much glare if your
headlight beam height adjustment is high
when the vehicle is carrying a ...
Check list for interview Check
ENGINE (DIAGNOSTICS)(H4DO) > Check List for InterviewCHECK1. CHECK LIST NO. 1Check the following item when problem has occurred.NOTE:Use copies of this page for interviewing customers.Customer’s name Engine No. Date of purchase Fuel type Date of repair Odometer readingkmV.I.N. milesWeather ...
Inspection
VEHICLE DYNAMICS CONTROL (VDC) > Yaw Rate and G SensorINSPECTION1. YAW RATE & LONGITUDINAL G AND LATERAL G SENSOR SIGNALSTEPCHECKYESNO1.CHECK YAW RATE & G SENSOR.1) Check the installation condition of the VDC control module & hydraulic control module (VDCCM&H/U).2) Using the Subar ...