MANUAL TRANSMISSION AND DIFFERENTIAL(5MT) > Drive Pinion Shaft Assembly
ASSEMBLY
1. Install the sleeve and the gear and hub assembly by matching the alignment marks.
NOTE:
• Make sure that there is no large clearance at both sides of the 1st-2nd shifting insert after assembly.

(A) | 1st-2nd shifting insert |
(B) | 1st-2nd synchronizer hub |
(C) | Reverse driven gear |
(D) | There is no large clearance at this part. |
• Use the new gear & hub assembly, if replacing the gear or hub.

(A) | 1st gear side |
(B) | 2nd gear side |
(C) | Flush surface |
(D) | Stepped surface |
2. Install the 1st driven gear, inner baulk ring, synchro cone, outer baulk ring, and gear & hub assembly.
NOTE:
• Install the gear & hub assembly in the proper position while paying attention to the installing direction.
• Align the baulk ring and gear & hub assembly with the key groove.

(A) | 1st driven gear |
(B) | Synchro cone |
(C) | Inner baulk ring |
(D) | Outer baulk ring |
(E) | Gear & hub |
3. Install the 2nd driven gear bushing using ST1, ST2 and a press.
CAUTION:
Do not apply a load in excess of 10 kN (1 ton, 1.1 US ton, 1.0 Imp ton).
NOTE:
• Attach a cloth to the end of the driven shaft to prevent damage.
• When press fitting, align the oil holes of the shaft and bushing.
| ST1 499277200 | INSTALLER |
| ST2 499587000 | INSTALLER |

4. Attach and insert the 2nd driven gear, inner baulk ring, synchro cone and outer baulk ring.
NOTE:
Align the groove of the baulk ring with the 1st-2nd shifting insert.

(A) | 2nd driven gear |
(B) | Synchro cone |
(C) | Inner baulk ring |
(D) | Outer baulk ring |
5. After installing key onto the driven shaft, install the 3rd-4th driven gear using ST1, ST2 and a press.
CAUTION:
Do not apply a load in excess of 10 kN (1 ton, 1.1 US ton, 1.0 Imp ton).
| ST1 499277200 | INSTALLER |
| ST2 499587000 | INSTALLER |

6. Install the set of double taper roller bearing using ST1, ST2 and a press.
CAUTION:
Do not apply a load in excess of 10 kN (1 ton, 1.1 US ton, 1.0 Imp ton).
NOTE:
Use a new double taper roller bearing.
| ST1 499277200 | INSTALLER |
| ST2 499587000 | INSTALLER |

7. Position the woodruff key in groove of the rear of driven shaft. Install the 5th driven gear using ST1, ST2 and a press.
CAUTION:
Do not apply a load in excess of 10 kN (1 ton, 1.1 US ton, 1.0 Imp ton).
NOTE:
Face the groove for identification of the 5th driven gear toward the nut.
| ST1 499277200 | INSTALLER |
| ST2 499587000 | INSTALLER |

8. Install the lock washer. Tighten the lock nuts to the specified torque using ST1 and ST2.
NOTE:
• Use new lock nuts and lock washers.
• Make sure the lock washer is installed in the proper direction.
Tightening torque:
260 N·m (26.5 kgf-m, 191.8 ft-lb)
| ST1 499987300 | SOCKET WRENCH (50) |
| ST2 899884100 | HOLDER |

(A) | Lock nut |
(B) | Lock washer |
(C) | Nut side |
9. Using a spring scale, check that starting torque of the double taper roller bearing is 0.1 to 1.5 N (0.01 to 0.15 kgf, 0.02 to 0.34 lbf).

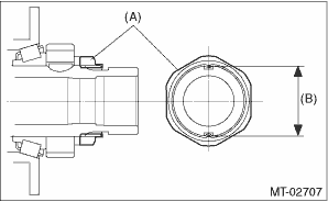
10. Crimp the lock nut at two locations so that the dimension (B) becomes 41.1 mm (1.62 in) or less.
CAUTION:
When crimping the lock nut, be careful not to crack it.

(A) | Lock nut |
(B) | Outer dimension after crimping |
11. Install the roller bearing.
NOTE:
• Use a new roller bearing.
• Install with the knock pin hole of the roller bearing outer race facing the rear side.

(A) | Roller bearing |
(B) | Knock pin hole |
12. Install the washer using ST1, ST2 and a press.
CAUTION:
Do not apply a load in excess of 10 kN (1 ton, 1.1 US ton, 1.0 Imp ton).
| ST1 499277100 | BUSHING 1-2 INSTALLER |
| ST2 499277200 | INSTALLER |

(A) | Washer |
13. Install the thrust bearing and needle bearing and install the driven shaft assembly.

14. Install the drive pinion collar, needle bearing, adjusting washer No. 2, thrust bearing, adjusting washer No. 1 and differential bevel gear sleeve in this order.

(A) | Driven shaft |
(B) | Drive pinion shaft |
(C) | Drive pinion collar |
(D) | Needle bearing (25 ? 30 ? 20) |
(E) | Adjusting washer No. 2 (25 ? 36 ? t) |
(F) | Thrust bearing (25 ? 37.5 ? 3) |
(G) | Adjusting washer No. 1 (25 ? 36 ? t) |
(H) | Differential bevel gear sleeve |
15. Adjust the thrust bearing preload. Drive Pinion Shaft Assembly > ADJUSTMENT">
Removal
DisassemblyRead diagnostic trouble code (dtc) Operation
LAN SYSTEM (DIAGNOSTICS) > Read Diagnostic Trouble Code (DTC)OPERATION1. On «Start» display, select «Diagnosis».2. On «Vehicle selection» display, input the target vehicle information and select «Confirmed».3. On «Main Menu» display, select «All diagnosis code».NOTE:• For detail ...
Dtc p0037 a/f / o2 heater control circuit low bank 1 sensor 2
ENGINE (DIAGNOSTICS)(H4DO) > Diagnostic Procedure with Diagnostic Trouble Code (DTC)DTC P0037 A/F / O2 HEATER CONTROL CIRCUIT LOW BANK 1 SENSOR 2DTC DETECTING CONDITION:Detected when two consecutive driving cycles with fault occur.CAUTION:After servicing or replacing faulty parts, perform Clear M ...
Installation
AIRBAG SYSTEM > Curtain Airbag ModuleINSTALLATIONCAUTION:• Before handling the airbag system components, refer to “CAUTION” of “General Description” in “AIRBAG SYSTEM”. General Description > CAUTION">• When installing the curtain airbag ...