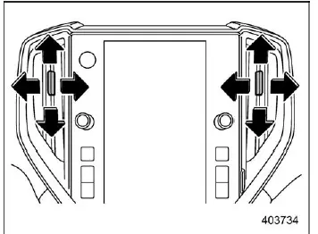
Center ventilators

Center ventilators
In the Subaru Ascent, the center ventilators are designed to provide flexible airflow control for front occupants. To adjust the direction of airflow, move the control tab to the desired angle. If you need to stop airflow completely, move the tab fully downward to close the vent.
Side ventilators

Side ventilators
The side ventilators in the Subaru Ascent allow precise airflow direction adjustments. Use the tab to direct air where needed, and switch between open and closed positions to control ventilation intensity.
Rear ventilators

Rear passengers in the Subaru Ascent can also enjoy adjustable airflow. Move the tab to direct air distribution, and slide it fully backward to close the rear ventilators when airflow is not required.
Climate control
Climate control panelInspection
CONTINUOUSLY VARIABLE TRANSMISSION (DIAGNOSTICS) > General DescriptionINSPECTION1. BATTERYCheck the battery. Battery > INSPECTION">2. TRANSMISSION GROUNDMake sure that the ground terminal bolt is tightened securely.Tightening torque:14 N·m (1.4 kgf-m, 10.3 ft-lb)3. OPERATION OF ...
Brake fluid
Checking the fluid level
WARNING
Prevent brake fluid from coming into contact with your eyes when servicing
your Subaru Ascent, as it can cause serious irritation or injury. If exposure
occurs, rinse immediately with clean water and seek medical attention if necessary.
Wearing protecti ...
Removal
MECHANICAL(H4DO) > Chain CoverREMOVALNOTE:When replacing a single part, perform the work with the engine assembly installed to body.1. When working on the vehicleNOTE:When working on the vehicle, perform the following steps also.(1) Remove the radiator. Radiator > REMOVAL">(2) Remove ...