MANUAL TRANSMISSION AND DIFFERENTIAL(5MT) > Drive Pinion Shaft Assembly
INSPECTION
Disassembled parts should be washed with cleaning solvent first, then inspected carefully.
1. Bearing
Replace the bearings in the following cases.
• When the bearing balls, outer races and inner races are broken or rusty.
• When the bearing is worn.
• When the bearings fail to turn smoothly or emit noise in rotation after transmission gear oil has been applied.
• The double taper roller bearing on the rear side of the drive pinion shaft should be checked for smooth rotation before the drive pinion shaft assembly is disassembled. In this case, because a preload is working on the bearing, its rotation feels like it is slightly dragging unlike other bearings.

(A) | Drive pinion shaft |
(B) | Double taper roller bearing |
• When bearing has other defects.
2. Bushing (each gear)
Replace the bushing in following cases.
• When the sliding surface is damaged or abnormally worn.
• When the inner wall is abnormally worn.
3. Gear
Replace gears in the following cases.
• Replace the gear with new part if its tooth surfaces are broken, damaged or excessively worn.
• Correct or replace if the cone that contacts the baulk ring is rough or damaged.
• Correct or replace if the inner surface or end face is damaged.
4. Baulk ring, synchro cone
Replace the baulk ring and synchro cone in the following cases.
• When the inner surface and end face are damaged.
• When the baulk ring inner surface is abnormally or partially worn down.
• When the contact surface of the baulk ring insert section is cracked or abnormally worn.
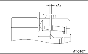
• If the gap between the end faces of the baulk ring and the gear splined part is excessively small, check the clearance (A) while pressing the ring against the cone.
Clearance (A):
0.5 mm (0.020 in) or more

• Apply transmission gear oil to the cone of the gear and while press-fitting the baulk ring, check there is no rotation in the circumferential direction.
5. Coupling sleeve and synchronizer hub
• Check the slipping condition of the coupling sleeve.
• Check the splines on the coupling sleeve and synchronizer hub for wear.
6. Shifting insert
Replace the shifting insert if deformed, excessively worn or defective in any way.
Disassembly
InstallationDtc p2123 throttle/pedal position sensor/switch "d" circuit high
ENGINE (DIAGNOSTICS)(H4DO) > Diagnostic Procedure with Diagnostic Trouble Code (DTC)DTC P2123 THROTTLE/PEDAL POSITION SENSOR/SWITCH "D" CIRCUIT HIGHDTC detecting condition:Immediately at fault recognitionTrouble symptom:• Improper idling• Poor driving performanceCAUTION:Afte ...
Dtc b1638 curtain airbag sensor lh initialization error
AIRBAG SYSTEM (DIAGNOSTICS) > Diagnostic Chart with Trouble CodeDTC B1638 CURTAIN AIRBAG SENSOR LH INITIALIZATION ERRORDiagnosis start condition:Ignition voltage is 10 V to 16 V.DTC detecting condition:• Open or short circuit in harness of side sensor bus (LH)• Side airbag sensor (LH) ...
Installation
MANUAL TRANSMISSION AND DIFFERENTIAL(5MT) > Drive Pinion Shaft AssemblyINSTALLATION1. Remove the front differential assembly.2. Hypoid gear set match mark/No.: The number (A) on top of the drive pinion, and the number on the hypoid driven gear are set numbers for the two gears. Use a pair having ...