BRAKE > Brake Booster
REMOVAL
CAUTION:
• Do not allow brake fluid to come in contact with the painted surface of the vehicle body. If it does, wash off with water and wipe away completely.
• Before handling the airbag system components, always refer to “CAUTION” of “General Description” in “AIRBAG SYSTEM”. General Description > CAUTION">
1. Disconnect the ground cable from battery and wait for at least 60 seconds before starting work. NOTE">
2. Remove the column assembly - steering. Steering Column > REMOVAL">
3. Drain brake fluid from the reservoir tank completely.
4. Disconnect the air conditioner pipe. Hose and Pipe > REMOVAL">
5. Remove the power steering control module. Power Steering Control Module > REMOVAL">
6. Remove the master cylinder assembly. Master Cylinder > REMOVAL">
7. Remove the clamp and remove the vacuum hose (a).

8. Remove the brake pipe assembly (a).
(1) Disconnect the starter connector (b) and harness clip (c).
(2) Remove the brake pipe assembly (a) from the pipe clip (d).

9. Remove the cover assembly - instrument panel LWR driver. Instrument Panel Lower Cover > REMOVAL">
10. Remove the knee airbag module. Knee Airbag Module > REMOVAL">
11. Remove the column assembly - steering. Steering Column > REMOVAL">
12. Remove the snap pin (a) and clevis pin (b), and remove the operating rod from the brake pedal.
CAUTION:
• Be careful not to apply excessive force to the operating rod when handling the operating rod. The angle may change by ±3°, and it may result in damage to power piston cylinder.
• Do not change the push rod length.

13. Remove the vacuum booster assembly.
CAUTION:
• Do not disassemble the vacuum booster assembly.
• Make sure that the booster shell and vacuum pipe are not subject to strong impacts.
• Be careful not to drop the vacuum booster assembly. If the vacuum booster assembly is dropped accidentally, replace it.
• Be careful when placing the vacuum booster assembly on floor.
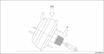
• If external force (a) is applied from above when the vacuum booster assembly is placed in this position, the resin portion as indicated by “P” may become damaged.

(1) Remove the nuts, and then remove the vacuum booster assembly.

Inspection
InstallationInspection
SECURITY AND LOCKS > Steering Lock CMINSPECTION1. Check if the steering lock is released when you start the engine using the push button ignition switch.2. If the system does not operate normally as the result of inspection, refer to “General Diagnostic Table” of the “KEYLESS AC ...
Preparation tool
EyeSight > General DescriptionPREPARATION TOOL1. SPECIAL TOOLILLUSTRATIONTOOL NUMBERDESCRIPTIONREMARKS87599VA000RANDOM CHARTUsed for adjusting stereo camera. — SUBARU SELECT MONITOR 4Used for setting of each function and troubleshooting for electrical system.NOTE:For detailed operation procedur ...
Ebd warning light, abs warning, vdc off indicator light, vdc warning light and vdc indicator light do not come on
VEHICLE DYNAMICS CONTROL (VDC) (DIAGNOSTICS) > Warning Light Illumination PatternEBD WARNING LIGHT, ABS WARNING, VDC OFF INDICATOR LIGHT, VDC WARNING LIGHT AND VDC INDICATOR LIGHT DO NOT COME ONDetecting condition:Defective combination meterTrouble symptom:When the ignition switch is turned to ON ...