MANUAL TRANSMISSION AND DIFFERENTIAL(5MT) > Preparation for Overhaul
PROCEDURE
1. Clean oil, grease, dirt and dust from the transmission.
2. When transmission gear oil remains in the transmission, using the TORX® bit T70, remove the drain plug, and drain the gear oil completely.
3. Attach the drain plug using TORX® bit T70.
NOTE:
Use a new gasket.
Tightening torque:
44 N·m (4.5 kgf-m, 32.5 ft-lb) (aluminum gasket, silver)
70 N·m (7.1 kgf-m, 51.6 ft-lb) (copper gasket, brown)
70 N·m (7.1 kgf-m, 51.6 ft-lb) (metal gasket, black)

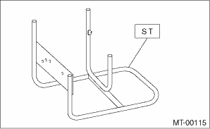
4. Attach the transmission to the ST.
| ST 499937100 | TRANSMISSION STAND |

5. Apply transmission gear oil to rotating parts before assembly.
6. All disassembled parts, if to be reused, should be reinstalled in the original positions.
7. Gaskets, lock washers and lock nuts must be replaced with new ones.
8. Apply liquid gasket to the specified areas to prevent leakage.
General diagnostic table Inspection
Mechanical(h4do)Diagnostic procedure for subaru select monitor communication Communication for initializing impossible
CONTINUOUSLY VARIABLE TRANSMISSION (DIAGNOSTICS) > Diagnostic Procedure for Subaru Select Monitor CommunicationCOMMUNICATION FOR INITIALIZING IMPOSSIBLEDiagnosis:Defective harness connectorTrouble symptom:Subaru Select Monitor communication failureCAUTION:Use the check board when measuring the TC ...
Removal
AIRBAG SYSTEM > Front Sub SensorREMOVALCAUTION:Before handling the airbag system components, refer to “CAUTION” of “General Description” in “AIRBAG SYSTEM”. General Description > CAUTION">1. Turn the ignition switch to OFF.2. Disconnect the ground c ...
Dtc b1860 short in driver s knee airbag
AIRBAG SYSTEM (DIAGNOSTICS) > Diagnostic Chart with Trouble CodeDTC B1860 SHORT IN DRIVER’S KNEE AIRBAGDiagnosis start condition:Ignition voltage is 10 V to 16 V.DTC detecting condition:• Airbag main harness circuit is shorted.• Knee airbag module harness circuit is shorted.&bul ...