DRIVE SHAFT SYSTEM > Front Hub Unit Bearing
INSTALLATION
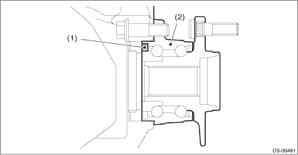
1. Place the front brake back plate between the front axle housing and the front hub unit bearing, and tighten the bolt.
CAUTION:
• Do not get closer the tool which charged magnetism to magnetic encoder.
• Be careful not to damage the magnetic encoder.
• Use a new bolt.
Tightening torque:
65 N·m (6.6 kgf-m, 47.9 ft-lb)

(1) | Magnetic encoder | (2) | Front hub unit bearing |

(a) | Front axle housing | (b) | Front brake back plate | (c) | Front hub unit bearing |
Tightening torque:
65 N·m (6.6 kgf-m, 47.9 ft-lb)
2. Install the front drive shaft assembly.
CAUTION:
• Do not hammer the drive shaft assembly when installing.
• Use new axle nuts.
(1) Insert the drive shaft assembly into the hub spline, and pull it into the specified position.
(2) Tighten the axle nut temporarily.
3. Install the disc rotor to the front hub unit bearing.
4. Install the caliper body assembly to the front axle housing.
Tightening torque:
Refer to “COMPONENT” of “General Description” for the tightening torque. General Description > COMPONENT">
5. Install the brake hose bracket.
Tightening torque:
33 N·m (3.4 kgf-m, 24.3 ft-lb)
6. Install the front ABS wheel speed sensor.
Tightening torque:
7.5 N·m (0.8 kgf-m, 5.5 ft-lb)
7. While pressing the brake pedal, tighten the new axle nuts to the specified torque.
CAUTION:
Do not load the front axle before tightening the axle nut. Doing so may damage the hub unit bearing.
Tightening torque:
220 N·m (22.4 kgf-m, 162.3 ft-lb)
8. After tightening the axle nut, lock it securely.

9. Install the front wheels, and perform the following inspections.
Tightening torque:
Except for C4 model: 120 N·m (12.2 kgf-m, 88.5 ft-lb)
C4 model: 100 N·m (10.2 kgf-m, 73.8 ft-lb)
(1) Check the wheels for smooth rotation.
(2) Check that there is no looseness by moving the upper and lower portions of front tire in an axial direction with the brake pedal released.
• Looseness exists > Check the front hub unit bearing. Front Hub Unit Bearing > INSPECTION">

(3) Check that there is no looseness by moving the upper and lower portions of front tire in an axial direction with the brake pedal depressed.
• Looseness exists > Replace the ball joint assembly. Front Ball Joint > REMOVAL">
InspectionCVT models
1. Apply the parking brake.
2. Turn off unnecessary lights and accessories.
3. Shift the select lever to the "P" or "N"
position (preferably the "P" position).
The starter motor will only operate when
the select lever is at the "P" or "N" position.
4. Turn the ignition switch to the "O ...
Dtc b14e2 air mix door actuator stepping motor circuit short-circuit (driver)
HVAC SYSTEM (AUTO A/C) (DIAGNOSTICS) > Diagnostic Procedure with Diagnostic Trouble Code (DTC)DTC B14E2 AIR MIX DOOR ACTUATOR STEPPING MOTOR CIRCUIT SHORT-CIRCUIT (DRIVER)DTC detecting condition:Air mix door actuator stepping motor circuit is shorted.Trouble symptom:Temperature cannot be adjusted ...
Dtc c2551 power supply relay
POWER ASSISTED SYSTEM (POWER STEERING) (DIAGNOSTICS) > Diagnostic Procedure with Diagnostic Trouble Code (DTC)DTC C2551 POWER SUPPLY RELAYTrouble symptom:• The steering wheel operation feels heavy.• STEERING warning light illuminates.NOTE:If power supply voltage failure exists at the ...