WIPER AND WASHER SYSTEMS > Washer Tank and Motor
INSPECTION
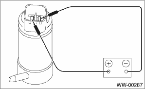
1. WASHER PUMP
Apply battery voltage to the connector terminal of the motor pump assembly - washer, and make sure that the motor operates.

2. WASHER FLUID LEVEL SENSOR
1. Check the connection status of washer fluid level sensor connector.
2. Does the low washer fluid warning light illuminate after draining the washer fluid? And does the low washer fluid warning light go off after refilling the washer fluid?
• Yes > Normal operation.
• No > Perform step 3.
3. Using a tester, measure the voltage of the washer fluid level sensor connector.
(1) Is the voltage approx. 8.5 V or more?
• Yes > Perform step 4.
• No > Check harness, meter and integrated unit, and replace if necessary.
4. Does the meter indicator illuminate if you short the washer fluid level sensor connector?
• Yes > Perform step 5.
• No > Check meter and integrated unit, and replace if necessary.
5. Using a tester, measure the resistance of the washer fluid level sensor.
(1) Turn over the mud guard.
(2) Measure the resistance of the washer fluid level sensor.

Amount of washer fluid in the tank | Standard |
No remaining quantity (ON) | Less than 10 ? |
There is remaining quantity (OFF) | 1 M? or more |
(3) Is the resistance within the standard?
• Yes > Normal operation.
• No > Replace the washer fluid level sensor along with the washer tank.
RemovalTo decrease the speed (by brake pedal)
1. Depress the brake pedal to release
cruise control temporarily.
2. When the speed decreases to the
desired speed, press the "RES/SET"
switch to the "SET" side once. Now the
desired speed is set and the vehicle will
keep running at that speed without depressing
the accelerator pedal.
Cr ...
Removal
FRONT SUSPENSION > Front Ball JointREMOVAL1. Lift up the vehicle, and then remove the front wheels.2. Remove the under cover - front. Front Under Cover > REMOVAL">3. Remove the clamp - stabilizer bushing on the left and right sides.4. Remove the ball joint assembly.(1) Pull out the co ...
Disassembly
GLASS/WINDOWS/MIRRORS > Outer Mirror AssemblyDISASSEMBLYCAUTION:When removing the mirror - repair, be careful not to damage the back surface of mirror - repair with a flat tip screwdriver.1. Operate the remote control mirror switch to face the mirror - repair upward.2. Disconnect the ground cable ...