SECURITY AND LOCKS > Ignition Key Lock
INSPECTION
Preparation tool:
Circuit tester
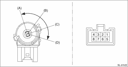
1. Check the resistance between switch terminals.

Terminal No. | Inspection conditions | Standard | |
Between all terminals | (A) | LOCK | 1 M? or more |
2 — 4 | (B) | ACC | Less than 1 ? |
1 — 2 — 4 5 — 6 | (C) | ON | Less than 1 ? |
1 — 3 — 4 5 — 6 — 7 | (D) | ST | Less than 1 ? |
2. Replace the ignition switch assembly if the inspection result is not within the standard.
ReplacementDtc b1863 short in driver s knee airbag (to +b)
AIRBAG SYSTEM (DIAGNOSTICS) > Diagnostic Chart with Trouble CodeDTC B1863 SHORT IN DRIVER’S KNEE AIRBAG (TO +B)Diagnosis start condition:Ignition voltage is 10 V to 16 V.DTC detecting condition:• Airbag main harness circuit is shorted to power supply.• Knee airbag module harness ...
Dtc p0851 park/neutral switch input circuit low
ENGINE (DIAGNOSTICS)(H4DO) > Diagnostic Procedure with Diagnostic Trouble Code (DTC)DTC P0851 PARK/NEUTRAL SWITCH INPUT CIRCUIT LOW1. AT MODELDTC detecting condition:Detected when two consecutive driving cycles with fault occur.Trouble symptom:Improper idlingCAUTION:After servicing or replacing f ...
Inspection
EyeSight (DIAGNOSTICS) > General DescriptionINSPECTION1. BATTERYCheck the battery. Battery">2. WINDSHIELD GLASS AND DASHBOARDRemove the windshield glass and dashboard in front of the stereo camera.Standard:There must be no oil film, dirt, scratch or fogging that obstructs the forward vis ...