MECHANICAL(H4DO) > Cylinder Block
INSPECTION
1. CYLINDER BLOCK & PISTON
1. Visually inspect to make sure that there are no cracks, scratches or other damage.
2. Use liquid penetrant tester on the important sections to check for fissures.
3. Check that there are no traces of gas leaking or water leaking on the gasket attachment surface.
4. Check the oil passages for clogging.
5. Check for warpage of mating surfaces of the cylinder block that contacts cylinder head using a straight edge and thickness gauge. If it exceeds the limit, correct the surface by grinding it with a surface grinder or replace the cylinder block.
NOTE:
Measurement should be performed at a temperature of 20°C (68°F).
Cylinder block warpage:
Limit
0.025 mm (0.0010 in)
Grinding limit of cylinder block :
To 204.9 mm (8.067 in)
Height of cylinder block:
Standard
205.0 mm (8.071 in)
6. Using a cylinder bore gauge, check the cylindricality and out-of-roundness of cylinder liner. If it is not within the standard, perform reboring (including honing), or replace the cylinder block and piston as a set. For reboring and honing procedure, refer to step 8).
NOTE:
• Measure the cylinder liner with cylinder blocks separated (into cylinder block RH and cylinder block LH).
• Measurement should be performed at a temperature of 20°C (68°F).
• Write down all measurement values as the values are used in the next procedure.
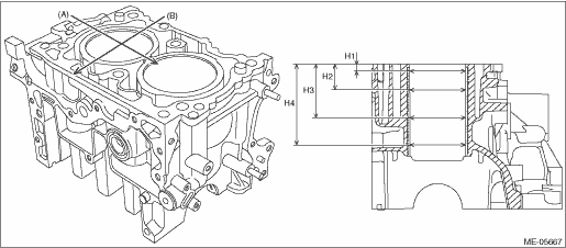
• Measure the inner diameter of each cylinder liner in both the thrust and piston pin directions at the heights as shown in the figure.

(A) | Piston pin direction | (B) | Thrust direction | ||
H1: | 10 mm (0.3937 in) | H2: | 45 mm (1.7717 in) | H3: | 80 mm (3.1496 in) |
H4: | 105 mm (4.1339 in) |
• Calculate the cylindricality of cylinder liner by using the following formula.
Calculation formula |
C = The larger value between the calculation values C' and C'' C' = (D(a)−D(b))/2 C'' = (D(c)−D(d))/2 |
C: Cylindricality of cylinder liner D(a): The largest value of all the values obtained by measuring the cylinder liner inner diameter in the direction of the piston pin D(b): The smallest value of all the values obtained by measuring the cylinder liner inner diameter in the direction of the piston pin D(c): The largest value of all the values obtained by measuring the cylinder liner inner diameter in the thrust direction D(d): The smallest value of all the values obtained by measuring the cylinder liner inner diameter in the thrust direction |
• Calculate the out-of-roundness of cylinder liner at each measurement height by using the following formula.
Calculation formula |
R = (D(e)−D(f))/2 |
R: Out-of-roundness of cylinder liner D(e): The larger value between the measurement values in the piston pin direction and in the thrust direction of cylinder liner inner diameter D(f): The smaller value between the measurement values in the piston pin direction and in the thrust direction of cylinder liner inner diameter |
Cylindricality of cylinder liner:
Limit
0.030 mm (0.0012 in)
Out-of-roundness of cylinder liner:
Limit
0.030 mm (0.0012 in)
7. Check the clearance between cylinder liner and piston. Check the clearance between cylinder liner and piston by measuring the inner diameter of cylinder liner and the outer diameter of piston respectively.
(1) Measure the inner diameter of cylinder liner. If it is not within the standard, perform reboring (including honing), or replace the cylinder block and piston as a set. For reboring and honing procedure, refer to step 8).
NOTE:
• Measure the cylinder liner with cylinder blocks separated (into cylinder block RH and cylinder block LH).
• Measurement should be performed at a temperature of 20°C (68°F).
• The cylinder bore size mark is stamped on the upper face of the cylinder block.

(A) | Main journal size mark | (C) | #1 cylinder bore size mark | (E) | #3 cylinder bore size mark |
(B) | Cylinder block (RH) − (LH) combination mark | (D) | #2 cylinder bore size mark | (F) | #4 cylinder bore size mark |
• Measure the inner diameter of each cylinder liner in both the thrust and piston pin directions at the heights as shown in the figure and read the value of the most worn location.

(A) | Piston pin direction | (B) | Thrust direction | ||
H1: | 10 mm (0.3937 in) | H2: | 45 mm (1.7717 in) | H3: | 80 mm (3.1496 in) |
H4: | 105 mm (4.1339 in) |
Inner diameter of cylinder liner:
Cylinder bore size mark A
Standard
84.005 — 84.015 mm (3.3073 — 3.3077 in)
Cylinder bore size mark B
Standard
83.995 — 84.005 mm (3.3069 — 3.3073 in)
(2) Check the outer diameter of piston with a micrometer. If it is not within the standard, replace the piston.
NOTE:
• Measurement should be performed at a temperature of 20°C (68°F).
• Measure the outer diameter of each piston in thrust direction at the height as shown in the figure.
• Standard sized pistons are classified into two grades, “A” and “B”. These grades should be used as guide lines in selecting a standard piston.
• The grade can be judged by the stamp of cylinder bore size mark on the upper face of the cylinder block.

(A) | Main journal size mark | (C) | #1 cylinder bore size mark | (E) | #3 cylinder bore size mark |
(B) | Cylinder block (RH) − (LH) combination mark | (D) | #2 cylinder bore size mark | (F) | #4 cylinder bore size mark |
• If the piston is replaced, check the clearance between cylinder liner and piston in the step (3), and select a suitable sized piston.
Piston grade point H:
38.0 mm (1.50 in)
Piston outer diameter:
Standard size (grade A = cylinder bore size mark A)
Standard
83.975 — 83.985 mm (3.3061 — 3.3065 in)
Standard size (grade B = cylinder bore size mark B)
Standard
83.965 — 83.975 mm (3.3057 — 3.3061 in)

(3) Calculate the clearance between cylinder liner and piston. If it is not within the standard, perform reboring (including honing), or replace the cylinder block and piston as a set. For reboring and honing procedure, refer to step 8).
NOTE:
The clearance between cylinder liner and piston is decided by matching the cylinder block bore size mark and the grade of piston outer diameter (grade A or B).
Clearance between cylinder liner and piston:
Standard
0.020 — 0.040 mm (0.0008 — 0.0016 in)
8. Reboring and honing
(1) If any of the cylindricality, out-of-roundness, inner diameter or clearance between cylinder liner and piston is out of standard or if there is any damage on the cylinder liner, perform reboring (including honing).
CAUTION:
When any of the cylinder liner needs reboring, all other cylinder liners must be rebored at the same time, and replaced with proper size pistons.
Oversize piston outer diameter:
0.25 mm (0.0098 in) oversize
Standard
84.215 — 84.235 mm (3.3155 — 3.3163 in)
0.50 mm (0.0197 in) oversize
Standard
84.465 — 84.485 mm (3.3254 — 3.3262 in)
(2) If the inner diameter of cylinder liner exceeds the limit after reboring (including honing), replace the cylinder block and piston as a set.
NOTE:
• Immediately after reboring (including honing), the inner diameter of cylinder liner may differ from its real diameter due to temperature rise. Thus, when measuring the inner diameter of cylinder liner, wait until the temperature has cooled to 20°C (68°F).
• For the measurement of the inner diameter of cylinder liner, refer to step 7).
Inner diameter of cylinder liner boring limit (diameter):
To 84.505 mm (3.3270 in)
2. PISTON AND PISTON PIN
1. Check the piston and piston pin for wear or crack.
2. Check the snap ring for distortion or wear.
3. Check the piston ring groove for damage.
4. Check the circlip groove (A) for burr.
NOTE:
If the burr is found, remove the burr from groove.

5. Check that the piston pin can be inserted into the piston with a thumb at 20°C (68°F).
6. Check the clearance between piston and piston pin. Check the clearance between piston and piston pin by measuring the inner diameter of piston pin hole and the outer diameter of piston pin respectively.
(1) Using a caliper gauge, measure the inner diameter of piston pin hole.
NOTE:
• Measurement should be performed at a temperature of 20°C (68°F).
• Measure the inner diameter of the piston pin hole at the four locations as shown in the figure, and read the value of most worn location.
• Record the measured value.

(2) Measure the outer diameter of piston pin with a micrometer.
NOTE:
• Measurement should be performed at a temperature of 20°C (68°F).
• Measure the outer diameter of the piston pin at the four locations as shown in the figure, and read the value of most worn location.
• Record the measured value.

(A) | 10 mm (0.394 in) |
(3) Calculate the clearance between piston and piston pin. If it is not within the standard, replace the piston and piston pin as a set.
Clearance between piston and piston pin:
Standard
0.004 — 0.008 mm (0.0002 — 0.0003 in)
3. PISTON RING
1. Make sure the piston ring is not broken or damaged.
2. Using a cylindrical guide, insert the piston ring into the cylinder liner so that they are perpendicular to the cylinder wall, and check the piston ring gap using a thickness gauge. If it is not within the standard, replace the piston ring.
NOTE:
• Measurement should be performed at a temperature of 20°C (68°F).
• Use piston ring with same size as piston when replacing piston ring.
Piston ring gap:
Compression ring (top ring)
Standard
0.20 — 0.35 mm (0.0079 — 0.0138 in)
Compression ring (second ring)
Standard
0.40 — 0.50 mm (0.0157 — 0.0197 in)
Oil ring (upper rail and lower rail)
Standard
0.10 — 0.35 mm (0.0039 — 0.0138 in)

3. Fit the compression ring straight into the piston ring groove, then check the clearance between compression ring and piston with a thickness gauge. If it is not within the standard, replace the compression ring.
NOTE:
• Measurement should be performed at a temperature of 20°C (68°F).
• Before inspecting the clearance, clean the piston ring groove and compression ring.
• Use compression ring with same size as piston when replacing compression ring.
Clearance between compression ring and piston:
Top ring
Standard
0.040 — 0.080 mm (0.0016 — 0.0031 in)
Second ring
Standard
0.030 — 0.070 mm (0.0012 — 0.0028 in)

4. CONNECTING ROD AND CONNECTING ROD BEARING
1. Check for bend or twist using a connecting rod aligner. If it exceeds the limit, replace the connecting rod.
NOTE:
Measurement should be performed at a temperature of 20°C (68°F).
Bend or twist per 100 mm (3.94 in) in length:
Limit
0.10 mm (0.0039 in)

(A) | Thickness gauge | (B) | Connecting rod |
2. Check that the large or small end thrust surface of each connecting rod is not damaged.
3. Check each connecting rod bearing for scar, peeling, seizure, melting or wear, etc.
4. Check the thrust clearance of each connecting rod using a thickness gauge.
NOTE:
Measurement should be performed at a temperature of 20°C (68°F).
(1) Clean the #1 connecting rod bearing and the #1 pin of crankshaft, and apply engine oil to the #1 pin of crankshaft.
(2) Set the #1 connecting rod bearing to the #1 connecting rod and #1 connecting rod cap.
(3) Set the #1 connecting rod, #1 connecting rod cap and #1 connecting rod cap bolt to the #1 pin of crankshaft.
NOTE:
• Each connecting rod has its own mating cap. Make sure that they are assembled correctly by checking their matching symbol.
• Use a new connecting rod cap bolt.
• Apply a coat of engine oil to the #1 connecting rod cap bolt thread.
(4) Using ST, tighten the #1 connecting rod cap bolts to 10 N·m (1.0 kgf-m, 7.4 ft-lb) in numerical order as shown in the figure, then retighten the bolts to 22 N·m (2.2 kgf-m, 16.2 ft-lb) in numerical order as shown in the figure.
CAUTION:
• Make sure to hold the crankshaft securely during work.
• When holding the crankshaft, be careful not to damage the crankshaft.
| ST 18270AA020 | SOCKET |

(5) Using ST and angle gauge, tighten the #1 connecting rod cap bolts with specified angle in numerical order as shown in the figure.
CAUTION:
• Make sure to hold the crankshaft securely during work.
• When holding the crankshaft, be careful not to damage the crankshaft.
| ST 18270AA020 | SOCKET |
Tightening angle:
137°+3° −2°

(6) In the same manner, install the #2, #3 and #4 connecting rods.
(7) Check the thrust clearance of each connecting rod using a thickness gauge. If it is not within the standard, replace the connecting rod.
NOTE:
Measure the thrust clearance of each connecting rod at several points, and replace the connecting rod if there is uneven wear.
Connecting rod thrust clearance:
Standard
0.070 — 0.330 mm (0.0028 — 0.0130 in)

5. Check the oil clearance on each connecting rod bearing using plastigauge.
NOTE:
Measurement should be performed at a temperature of 20°C (68°F).
(1) Clean the #1 connecting rod bearing and the #1 pin of crankshaft.
(2) Set the #1 connecting rod bearing to the #1 connecting rod and #1 connecting rod cap.
(3) Place a plastigauge across the #1 pin of crankshaft, and set the #1 connecting rod, #1 connecting rod cap and #1 connecting rod cap bolt to the #1 pin of crankshaft.
NOTE:
• Each connecting rod has its own mating cap. Make sure that they are assembled correctly by checking their matching symbol.
• Use a new connecting rod cap bolt.
• Apply a coat of engine oil to the #1 connecting rod cap bolt thread.
(4) Using ST, tighten the #1 connecting rod cap bolts to 10 N·m (1.0 kgf-m, 7.4 ft-lb) in numerical order as shown in the figure, then retighten the bolts to 22 N·m (2.2 kgf-m, 16.2 ft-lb) in numerical order as shown in the figure.
CAUTION:
• Make sure to hold the crankshaft securely during work.
• When holding the crankshaft, be careful not to damage the crankshaft.
• During tightening, be careful not to move the #1 connecting rod and the #1 connecting rod cap.
| ST 18270AA020 | SOCKET |

(5) Using ST and angle gauge, tighten the #1 connecting rod cap bolts with specified angle in numerical order as shown in the figure.
CAUTION:
• Make sure to hold the crankshaft securely during work.
• When holding the crankshaft, be careful not to damage the crankshaft.
• During tightening, be careful not to move the #1 connecting rod and the #1 connecting rod cap.
| ST 18270AA020 | SOCKET |
Tightening angle:
137°+3° −2°

(6) Using ST, loosen the #1 connecting rod cap bolt, and remove the #1 connecting rod cap bolt and #1 connecting rod cap.
CAUTION:
• Make sure to hold the crankshaft securely during work.
• When holding the crankshaft, be careful not to damage the crankshaft.
• During removal, be careful not to move the #1 connecting rod and the #1 connecting rod cap.
| ST 18270AA020 | SOCKET |

(7) Determine oil clearance of the #1 connecting rod bearing by matching the widest point of the plastigauge on #1 pin of crankshaft against scale printed on a package of the plastigauge. If it is not within the standard, replace the #1 connecting rod bearing.
NOTE:
Measure the outer diameter of crankshaft pin using micrometer, and select the suitable size connecting rod bearing when replacing the connecting rod bearing.
Unit: mm (in) | ||
Bearing | Connecting rod bearing thickness (at center) | Crankshaft pin outer diameter |
Standard | Standard | |
Standard size | 1.492 — 1.508 (0.0587 — 0.0594) | 47.976 — 48.000 (1.8888 — 1.8898) |
0.03 (0.0012) Undersize | 1.511 — 1.515 (0.0595 — 0.0596) | 47.946 — 47.970 (1.8876 — 1.8886) |
0.05 (0.0020) Undersize | 1.521 — 1.525 (0.0599 — 0.0600) | 47.926 — 47.950 (1.8868 — 1.8878) |
0.25 (0.0098) Undersize | 1.621 — 1.625 (0.0638 — 0.0640) | 47.726 — 47.750 (1.8790 — 1.8799) |
Connecting rod bearing oil clearance:
Standard
0.017 — 0.047 mm (0.0007 — 0.0019 in)

(8) Completely remove the plastigauge.
(9) In the same manner, check oil clearance of the #2, #3 and #4 connecting rod bearings.
5. PISTON PIN & CONNECTING ROD BUSHING
1. Check that the connecting rod bushing is not damaged.
2. Check the clearance between piston pin and connecting rod bushing. Check the clearance between piston pin and connecting rod bushing by measuring the outer diameter of piston pin and the inner diameter of connecting rod bushing respectively.
(1) Measure the outer diameter of piston pin with a micrometer.
NOTE:
• Measurement should be performed at a temperature of 20°C (68°F).
• Measure the outer diameter of the piston pin at the two locations as shown in the figure, and read the value of most worn location.
• Record the measured value.

(2) Using a caliper gauge, measure the inner diameter of connecting rod bushing.
NOTE:
• Measurement should be performed at a temperature of 20°C (68°F).
• Measure the inner diameter of the connecting rod bushing at the two locations as shown in the figure, and read the value of most worn location.
• Record the measured value.

(3) Calculate the clearance between piston pin and connecting rod bushing.
Clearance between piston pin and connecting rod bushing:
Standard
0.004 — 0.026 mm (0.0002 — 0.0010 in)
3. If the clearance between piston pin and connecting rod bushing is not within the standard, replace the connecting rod bushing and piston pin as a set. For replaceme
Removal
Cylinder headDtc b2900 ahl control
AUTO HEADLIGHT BEAM LEVELER SYSTEM (DIAGNOSTICS) > Diagnostic Procedure with Diagnostic Trouble Code (DTC)DTC B2900 AHL CONTROLDTC DETECTING CONDITION:Detected when internal malfunction occurs in the auto headlight beam leveler CM.TROUBLE SYMPTOM:The auto headlight beam leveler does not operate.C ...
Dtc b2a09 i-call button circuit
TELEMATICS SYSTEM (DIAGNOSTICS) > Diagnostic Procedure with Diagnostic Trouble Code (DTC)DTC B2A09 I-CALL BUTTON CIRCUITDiagnosis start condition:When ignition switch is ON.DTC detecting condition:The following conditions occur for at least 50 ms.• i-button impedance is more than 10 k?.&bul ...
Seatbelt maintenance
To clean the seatbelts, use a mild soap
and lukewarm water. Never bleach or dye
the belts because this could seriously
affect their strength.
Inspect the seatbelts and attachments
including the webbing and all hardware
periodically for cracks, cuts, gashes,
tears, damage, loose bolts or wor ...