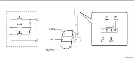
INSTRUMENTATION/DRIVER INFO > Steering Switch
INSPECTION
1. Measure the resistance between switch terminals.
Preparation tool:
Circuit tester

Terminal No. | Inspection conditions | Standard | |
3 — 2 |
i/SET
| All OFF | Approx. 1 M? or more |
| ON | Less than 1 ? | |
i/SET | ON | Approx. 1,000 ? | |
| ON | Approx. 3,670 ? | |
2. Apply battery voltage between the connector terminals to check lighting condition of illumination inside the switch.
Terminal No. | Inspection conditions | Specification |
4 (+) — 1 (−) | Apply battery voltage. | Light ON |
3. Replace the MID switch if the inspection result is not within the standard value.
Steering switch
RemovalDtc p2764 torque converter clutch pressure control solenoid control circuit low
CONTINUOUSLY VARIABLE TRANSMISSION (DIAGNOSTICS) > Diagnostic Procedure with Diagnostic Trouble Code (DTC)DTC P2764 TORQUE CONVERTER CLUTCH PRESSURE CONTROL SOLENOID CONTROL CIRCUIT LOWDTC detecting condition:Immediately at fault recognitionTrouble symptom:No lock-up occurs.CAUTION:Use the check ...
Dtc b16f5 side airbag sensor lh recognition error
AIRBAG SYSTEM (DIAGNOSTICS) > Diagnostic Chart with Trouble CodeDTC B16F5 SIDE AIRBAG SENSOR LH RECOGNITION ERRORDiagnosis start condition:Ignition voltage is 10 V to 16 V.DTC detecting condition:• Side airbag sensor LH is misinstalled.• Airbag CM is faulty.CAUTION:Before performing d ...
Inspection
ENTERTAINMENT > Switches and HarnessINSPECTION1. SATELLITE SWITCH ASSEMBLY1. Measure the resistance between connector terminals.Preparation tool:Circuit testerTerminal No.Inspection conditionsStandard6 — 2VOL (+)VOL (−)SEEK (›)SEEK (‹)LISTRETURNA circuit is all OFF.Approx. 1 ...