FUEL INJECTION (FUEL SYSTEMS)(H4DO) > Tumble Generator Valve Assembly
INSPECTION
1. CHECK MOTOR
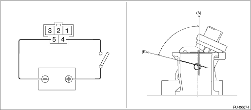
1. Connect the battery positive terminal to terminal No. 5 and the battery ground terminal to terminal No. 4, and check that the valve is fully opened on LH side and the valve is fully closed on RH side.
CAUTION:
Do not power the motor for more than 10 seconds.

(A) | Full open | (B) | Full closed |
2. Connect the battery positive terminal to terminal No. 4 and the battery ground terminal to terminal No. 5, and check that the valve is fully closed on LH side and the valve is fully opened on RH side.
CAUTION:
Do not power the motor for more than 10 seconds.

(A) | Full open | (B) | Full closed |
2. CHECK SENSORS
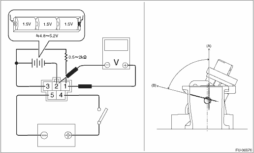
1. Connect dry-cell battery positive terminal to terminal No. 3 and dry-cell battery ground terminal to terminal No. 2, and connect the resistance (0.5 — 2 k?) between dry-cell battery positive terminal and terminal No. 1.
NOTE:
• Use new dry-cell batteries.
• Using circuit tester, check the voltage of a single dry-cell battery is 1.6 V or more. And also check the voltage of three batteries in series is between 4.8 V and 5.2 V.
• For power supply, 5 V DC voltage source can also be used.
2. Connect the circuit tester positive terminal to terminal No. 1, and the circuit tester negative terminal to terminal No. 2.
3. Connect the battery positive terminal to terminal No. 5 and the battery ground terminal to terminal No. 4, and measure the voltages with the valve fully opened on LH side and with the valve fully closed on RH side.
CAUTION:
Do not power the motor for more than 10 seconds.

(A) | Full open | (B) | Full closed |
Terminal No. | Standard |
1 (+) and 2 (−) | LH side: Approx. 5 V (when 25°C (77°F)) RH side: Approx. 0 — 0.5 V (when 25°C (77°F)) |
4. Connect dry-cell battery positive terminal to terminal No. 3 and dry-cell battery ground terminal to terminal No. 2, and connect the resistance (0.5 — 2 k?) between dry-cell battery positive terminal and terminal No. 1.
NOTE:
• Use new dry-cell batteries.
• Using circuit tester, check the voltage of a single dry-cell battery is 1.6 V or more. And also check the voltage of three batteries in series is between 4.8 V and 5.2 V.
• For power supply, 5 V DC voltage source can also be used.
5. Connect the circuit tester positive terminal to terminal No. 1, and the circuit tester negative terminal to terminal No. 2.
6. Connect the battery positive terminal to terminal No. 4 and the battery ground terminal to terminal No. 5, and measure the voltages with the valve fully closed on LH side and with the valve fully opened on RH side.
CAUTION:
Do not power the motor for more than 10 seconds.

(A) | Full open | (B) | Full closed |
Terminal No. | Standard |
1 (+) and 2 (−) | LH side: Approx. 0 — 0.5 V (when 25°C (77°F)) RH side: Approx. 5 V (when 25°C (77°F)) |
3. OTHER INSPECTIONS
1. Check that the tumble generator valve assembly has no deformation, cracks or other damages.
2. Check tumble generator valve assembly for contamination or clogging.
RemovalDtc p0716 input/turbine shaft speed sensor "a" circuit range/performance
CONTINUOUSLY VARIABLE TRANSMISSION (DIAGNOSTICS) > Diagnostic Procedure with Diagnostic Trouble Code (DTC)DTC P0716 INPUT/TURBINE SHAFT SPEED SENSOR "A" CIRCUIT RANGE/PERFORMANCEDTC detecting condition:Immediately at fault recognitionTrouble symptom:• No lock-up occurs.• Sho ...
Installation
MECHANICAL(H4DO) > Engine AssemblyINSTALLATION1. Install the engine mounting onto the engine.Tightening torque:35 N·m (3.6 kgf-m, 25.8 ft-lb)2. Apply a small amount of grease to splines of main shaft. (MT model)Grease:NICHIMOLY N-130 or equivalent3. Position the engine in engine compartmen ...
EyeSight (models with EyeSight
system)
NOTE
For models with the EyeSight system,
refer to the Owner's Manual supplement
for the EyeSight system.
BSD/RCTA (if equipped)
After entering the "BSD/RCTA" menu,
select the "Warning Volume" menu. You
can set the volume of the warning buzzer
for RCTA (Rear Cross Traffic Alert). You
can se ...