ENGINE (DIAGNOSTICS)(H4DO) > Diagnostic Procedure with Diagnostic Trouble Code (DTC)
DTC P0111 INTAKE AIR TEMPERATURE SENSOR 1 CIRCUIT RANGE/PERFORMANCE BANK 1
DTC detecting condition:
Detected when two consecutive driving cycles with fault occur.
Trouble symptom:
• Improper idling
• Poor driving performance
CAUTION:
After servicing or replacing faulty parts, perform Clear Memory Mode Clear Memory Mode > OPERATION">
, and Inspection Mode Inspection Mode > PROCEDURE">
.
| STEP | CHECK | YES | NO |
1.CHECK ENGINE COOLANT TEMPERATURE.
1) Start the engine and warm up completely.
2) Read the value of «Coolant Temp.» using the Subaru Select Monitor or a general scan tool.
NOTE:
• Subaru Select Monitor
For detailed operation procedures, refer to “Current Data Display For Engine”. Subaru Select Monitor">
• General scan tool
For detailed operation procedures, refer to the general scan tool operation manual.
Is the value of «Coolant Temp.» 75°C (167°F) or more?
Replace the mass air flow and intake air temperature sensor. Mass Air Flow and Intake Air Temperature Sensor">
Check for DTC P0125. Diagnostic Procedure with Diagnostic Trouble Code (DTC) > DTC P0125 INSUFFICIENT COOLANT TEMPERATURE FOR CLOSED LOOP FUEL CONTROL">
1. OUTLINE OF DIAGNOSIS
Detect the malfunction of the intake air temperature sensor output properties. Using the following two diagnoses, judge as NG when either is NG.
• Diagnosis 1 (correlation diagnosis): After the engine starts after the specified period of soaking time has elapsed, diagnose by correlation between intake air temperature sensor value, engine coolant temperature sensor value and ambient temperature sensor value. Judge as NG when the differences are both above the specified value by comparing between intake air temperature and engine coolant temperature, intake air temperature and ambient air temperature.
• Diagnosis 2 (stuck diagnosis): Judge as NG when intake air temperature does not change under the driving condition where it should change, considering engine condition.
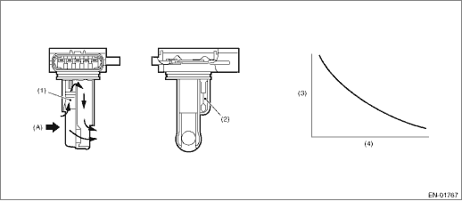
2. COMPONENT DESCRIPTION

(A) | Air | ||||
(1) | Air flow sensor | (3) | Resistance value (?) | (4) | Intake air temperature °C (°F) |
(2) | Intake air temperature sensor |
3. EXECUTION CONDITION
Secondary parameters | Execution condition |
Battery voltage | ≥ 10.9 V |
Soaking time | ≥ 21600 s |
Block heater judgment | Completed |
Block heater operation | Not in operation |
Secondary parameters | Execution condition |
Battery voltage | ≥ 10.9 V |
Engine coolant temperature | ≥ 60 °C (140 °F) |
Integrated value of intake air amount | ≥ 5500 g/s (193.99 oz/s) |
Number of experiences under following driving conditions | ≥ 3 time(s) |
• Duration of driving condition 1 | ≥ 15 s |
•Vehicle speed | ≥ 40 km/h (24.9 MPH) |
and | |
•Amount of intake air | ≥ 10 g/s (0.35 oz/s) |
• Duration of driving condition 2 | ≥ Value of Map 1 |
•Vehicle speed | ≥ 4 km/h (2.5 MPH) |
Engine coolant temperature °C (°F) | −30 (−22) | −10 (14) | 0 (32) | 10 (50) | 20 (68) |
Continuous time (s) when vehicle speed is less than 4 km/h (2.5 MPH) | 180 | 100 | 70 | 45 | 15 |
4. GENERAL DRIVING CYCLE
• Diagnosis 1: Perform the diagnosis only once after the engine starts after a certain period of soaking time.
• Diagnosis 2: Perform the diagnosis when the vehicle speed condition is met after warming up from a cold condition.
5. DIAGNOSTIC METHOD
Judge as NG when Diagnosis 1 or Diagnosis 2 becomes NG.
Diagnosis 1
If the duration of time while the following conditions are met is longer than the time indicated, judge as NG.
Malfunction Criteria | Threshold Value |
|Intake air temperature 30 sec. after engine start − Engine coolant temperature at engine start| | > Value of Map 2 |
|Intake air temperature 30 sec. after engine start − Ambient air temperature 30 sec. after engine start| | > Value of Map 3 |
Ambient temperature °C (°F) | −30 (−22) | 30 (86) | 45 (113) | 60 (140) |
|Intake air temperature 30 sec. after engine start − Engine coolant temperature at engine start| °C (°F) | 12 (21.6) | 12 (21.6) | 22 (39.6) | 22 (39.6) |
Ambient temperature °C (°F) | −30 (−22) | 30 (86) | 45 (113) | 60 (140) |
|Intake air temperature 30 sec. after engine start − Ambient air temperature 30 sec. after engine start| °C (°F) | 20 (36) | 20 (36) | 32 (57.6) | 32 (57.6) |
Time needed for diagnosis: Less than 1 second
Diagnosis 2
Judge as NG when the following conditions are established.
Malfunction Criteria | Threshold Value |
Output voltage difference between Max. and Min. | < 0.02 V (Equivalent to ambient temperature of approximately 0.5°C (0.9°F) near 25°C (77°F)) (Equivalent to ambient temperature of approximately 0.9°C (1.6°F) near −7°C (19.4°F)) |
Time needed for diagnosis: Less than 1 second
Malfunction indicator light illumination: Illuminates when malfunction occurs in 2 continuous driving cycles.
Dtc p0108 manifold absolute pressure/barometric pressure sensor circuit high
Dtc p0112 intake air temperature sensor 1 circuit low bank 1Caution
STARTING/CHARGING SYSTEMS(H4DO) > General DescriptionCAUTION• Prior to starting work, pay special attention to the following:1. Always wear work clothes, a work cap, and protective shoes. Additionally, wear a helmet, protective goggles, etc. if necessary.2. Protect the vehicle using a seat ...
Dtc b2220 break the wire of ign
INSTRUMENTATION/DRIVER INFO (DIAGNOSTICS) > Diagnostic Procedure with Diagnostic Trouble Code (DTC)DTC B2220 BREAK THE WIRE OF IGNDTC detecting condition:There was voltage malfunction caused by poor contact of IGN power supply circuits.Trouble symptom:Airbag indicator does not illuminate.Wiring d ...
Dtc c2421 transmitter 1 battery voltage low
TIRE PRESSURE MONITORING SYSTEM (DIAGNOSTICS) > Diagnostic Procedure with Diagnostic Trouble Code (DTC)DTC C2421 TRANSMITTER 1 BATTERY VOLTAGE LOWNOTE:Refer to DTC C2424 for diagnostic procedure. Diagnostic Procedure with Diagnostic Trouble Code (DTC) > DTC C2424 TRANSMITTER 4 BATTERY VOLTAGE ...