HVAC SYSTEM (HEATER, VENTILATOR AND A/C) > General Description
COMPONENT
1. HEATER AND COOLING UNIT
• Manual A/C model

(1) | Pipe - inlet | (11) | Shutter - defroster | (21) | Packing - evaporator core |
(2) | Pipe - outlet | (12) | Shutter - vent | (22) | Pipe - evaporator core |
(3) | Clamp - pipe | (13) | Shutter - air mix RH | (23) | Case - expansion valve |
(4) | Seal O-ring | (14) | Shutter - air mix LH | (24) | Seal - cooling |
(5) | Clamp | (15) | Guide - heater unit | (25) | Packing - heater unit |
(6) | Plate - heater core | (16) | Shutter - foot | (26) | Expansion valve - cooling |
(7) | Packing - heater core | (17) | Case - vent duct | ||
(8) | Heater core | (18) | Case - heater unit UPR RH | Tightening torque: N·m (kgf-m, ft-lb) | |
(9) | Case - heater unit UPR LH | (19) | Thermostat - cooling | T1: | 5.0 (0.51, 3.7) |
(10) | Plate CTR | (20) | Evaporator ASSY - cooling | T2: | 6.7 (0.68, 4.9) |

(1) | Packing - heater unit | (11) | Clip | (21) | Hose - drain |
(2) | Case - heater unit | (12) | Lever - foot | (22) | Resistor |
(3) | Lever - defroster | (13) | Lever - foot sub | (23) | Cover |
(4) | Lever - defroster sub | (14) | Clamp - cable | (24) | Cover - heater unit |
(5) | Washer - heater | (15) | Cover - heater pipe | (25) | Spring - heater unit |
(6) | Lever - ventilator sub | (16) | Duct - foot LH | (26) | Lever A |
(7) | Rod - ventilator | (17) | Duct - foot RH | (27) | Lever B |
(8) | Lever - ventilator door | (18) | Case - heater LWR | ||
(9) | Lever - mode | (19) | Clip - case | Tightening torque: N·m (kgf-m, ft-lb) | |
(10) | Rod - foot | (20) | Packing - evaporator cover | T: | 7.5 (0.76, 5.5) |
• Auto A/C model

(1) | Pipe - inlet | (11) | Shutter - defroster | (21) | Packing - evaporator core |
(2) | Pipe - outlet | (12) | Shutter - vent | (22) | Pipe - evaporator core |
(3) | Clamp - pipe | (13) | Shutter - air mix RH | (23) | Case - expansion valve |
(4) | Seal O-ring | (14) | Shutter - air mix LH | (24) | Seal - cooling |
(5) | Clamp | (15) | Guide - heater unit | (25) | Packing - heater unit |
(6) | Plate - heater core | (16) | Shutter - foot | (26) | Expansion valve - cooling |
(7) | Packing - heater core | (17) | Case - vent duct | ||
(8) | Heater core | (18) | Case - heater unit UPR RH | Tightening torque: N·m (kgf-m, ft-lb) | |
(9) | Case - heater unit UPR LH | (19) | Thermostat - cooling | T1: | 5.0 (0.51, 3.7) |
(10) | Plate CTR | (20) | Evaporator ASSY - cooling | T2: | 6.7 (0.68, 4.9) |

(1) | Packing - heater unit | (13) | Lever - foot sub | (25) | Spring - heater unit |
(2) | Case - heater unit | (14) | Harness - heater unit | (26) | Lever - air mix |
(3) | Lever - defroster | (15) | Cover - heater pipe | (27) | Rod - air mix |
(4) | Lever - defroster sub | (16) | Duct - foot LH | (28) | Motor - actuator mix RH |
(5) | Washer - heater | (17) | Duct - foot RH | (29) | Rod - mode |
(6) | Lever - ventilator sub | (18) | Case - heater LWR | (30) | Motor - actuator mode |
(7) | Rod - ventilator | (19) | Clip - case | (31) | Aspirator - heater unit |
(8) | Lever - ventilator door | (20) | Packing - evaporator cover | (32) | Aspirator hose |
(9) | Lever - mode | (21) | Hose - drain | (33) | Motor - actuator mix LH (dual A/C model) |
(10) | Rod - foot | (22) | Power transistor | ||
(11) | Clip | (23) | Cover | Tightening torque: N·m (kgf-m, ft-lb) | |
(12) | Lever - foot | (24) | Cover - heater unit | T: | 7.5 (0.76, 5.5) |
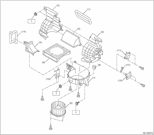
2. BLOWER MOTOR UNIT

(1) | Packing - blower | (7) | Case lower - blower | (13) | Motor - actuator blower (manual A/C model) |
(2) | Case - blower intake LH | (8) | Blower motor relay | (14) | Packing |
(3) | Case - blower intake RH | (9) | Blower - motor | ||
(4) | Shutter - blower | (10) | Bracket | Tightening torque: N·m (kgf-m, ft-lb) | |
(5) | Case upper - blower | (11) | Motor - actuator blower (auto A/C model) | T: | 7.5 (0.76, 5.5) |
(6) | Filter kit | (12) | Lever | ||
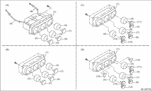
3. CONTROL PANEL

(A) | Manual A/C model | (C) | Single auto A/C model (with high grade MFD) | (D) | Dual auto A/C model |
(B) | Single auto A/C model (with standard MFD) | ||||
(1) | Control case | (6) | FRESH/RECIRC switch | (11) | Defroster switch |
(2) | Air flow control dial | (7) | A/C switch | (12) | OFF switch |
(3) | Fan dial | (8) | Temperature control cable | (13) | Air flow control switch |
(4) | Temperature adjustment dial | (9) | Air flow control cable | (14) | Dual switch |
(5) | Rear window defogger switch | (10) | AUTO switch |
4. AIR CONDITIONING UNIT

(1) | Condenser ASSY - air conditioner | (7) | Pipe - evaporator cooling | (13) | Spacer |
(2) | Hose - pressure discharge | (8) | Clip | (14) | Bushing - condenser |
(3) | Hose - pressure suction | (9) | Valve - hose pressure | ||
(4) | Compressor ASSY | (10) | Cap - hose pressure discharge | Tightening torque: N·m (kgf-m, ft-lb) | |
(5) | Seal O-ring | (11) | Cap - hose pressure suction | T1: | 7.5 (0.76, 5.5) |
(6) | Clip - pipe | (12) | Grommet | T2: | 10 (1.02, 7.4) |
5. HEATER HOSE

(1) | Hose - heater outlet | (3) | Clip | (4) | Clamp |
(2) | Hose - heater inlet | ||||
*1: Engine side *2: Heater core side | |||||
6. COMPRESSOR

(1) | Compressor ASSY | (3) | Hanger - engine front | Tightening torque: N·m (kgf-m, ft-lb) | |
(2) | V-belt (6 PK) | T: | 36 (3.67, 26.6) | ||
*: Tighten the compressor in the numerical order as shown in the figure. | |||||
7. HEATER DUCT

(1) | Panel COMPL - instrument | (5) | Duct - side defroster RH | (9) | Duct - rear heater LH |
(2) | Duct - side defroster LH | (6) | Duct - side ventilation RH | (10) | Duct - rear heater RH |
(3) | Duct - side ventilation LH | (7) | Nozzle - front defroster | (11) | Heater and cooling unit ASSY |
(4) | Duct - center vent | (8) | Duct - rear heater CTR |
Specification
LocationInspection
LIGHTING SYSTEM > Relay and FuseINSPECTION1. CHECK FUSE1. Remove the fuse and inspect visually.2. If the fuse is blown out, replace the fuse.NOTE:If the fuse is blown again, check the system wiring harness.2. CHECK RELAY1. Check the resistance between relay terminals.Terminal No.Inspection condit ...
Initial illumination for system check
Several of the warning and indicator lights
illuminate when the ignition switch is
initially turned to the "ON" position. This
permits checking the operation of the
bulbs.
Apply the parking brake and turn the
ignition switch to the "ON" position. For
the system check, the following lights
...
Push-button ignition switch (models with "keyless access with push-button start
system")
Operating range for push-button start system
Antennas
Operating range
NOTE
In the Subaru Ascent, the push-button ignition system will function
only when the access key fob is detected within the effective operating range
of the built-in antennas inside the vehicle.
Even if t ...