REAR SUSPENSION > Rear Shock Absorber
ASSEMBLY
1. Before assembly, check each part. Rear Shock Absorber > INSPECTION">
2. Using a coil spring compressor, compress the coil spring - rear.
CAUTION:
When installing the coil spring compressor to the coil spring, follow the operation manual accompanied with the coil spring compressor during operation.
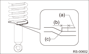
3. Install by aligning with the edge surface of the coil spring - rear and the stopper portion of the lower side spring seat.

(a) | Coil spring - rear |
(b) | 0+ 10 mm (0 + 0.4 in) |
(c) | Spring seat stopper portion |
4. Install the helper - rear and the dust cover - rear shock to the piston rod.
5. Fully pull up the piston rod in the upward direction.
6. Temporarily tighten the rubber seat - shock UPR and the shock mount - rear with new self-locking nuts.
NOTE:
Position the shock mount - rear as shown in the figure.

A | LH side |
B | RH side |
(a) | Front side of vehicle |
(b) | Vehicle outside |
(c) | 0°±10° |
(d) | End portion of coil spring - rear |
7. Using a hexagon wrench to prevent the shock absorber piston rod from turning, tighten the new self-locking nut with ST.
CAUTION:
Make sure that the shock mount - rear turns smoothly after tightening.
Preparation tool:
ST: STRUT MOUNT SOCKET (20399FG000)
Tightening torque:
25 N·m (2.55 kgf-m, 18.4 ft-lb)
8. Loosen the coil spring compressor carefully.
RemovalSteering warning light does not go off
POWER ASSISTED SYSTEM (POWER STEERING) (DIAGNOSTICS) > STEERING Warning LightSTEERING WARNING LIGHT DOES NOT GO OFFDetecting condition:• Defective combination meter• Open circuit of harnessTrouble symptom:When starting the engine, the STEERING warning light continues to illuminate.STE ...
Dtc b14e9 intake door actuator circuit open
HVAC SYSTEM (AUTO A/C) (DIAGNOSTICS) > Diagnostic Procedure with Diagnostic Trouble Code (DTC)DTC B14E9 INTAKE DOOR ACTUATOR CIRCUIT OPENDTC detecting condition:Intake door actuator potentiometer circuit is open.Trouble symptom:FRESH/RECIRC does not operate.Wiring diagram:Air conditioning system ...
Installation
FUEL INJECTION (FUEL SYSTEMS)(H4DO) > Fuel Delivery and Evaporation LinesINSTALLATIONInstall in the reverse order of removal while being careful of the following.NOTE:When connecting the fuel delivery tube (a) and evaporation hose (b), let the bushing (c) contact the quick connector (d) of fuel d ...