DRIVE SHAFT SYSTEM > Rear Drive Shaft
ASSEMBLY
CAUTION:
Wrap shaft splines with vinyl tape to protect the boot from scratches.
NOTE:
Use specified grease.
Grease:
BJ, EBJ side: NKG814
DOJ side: NKG814
1. Install the inner race to the shaft.
(1) Install the boot (BJ) or boot (EBJ) in the specified position, and fill it with 50 to 60 g (1.76 to 2.12 oz) of specified grease.
(2) Place the boot (DOJ) at the center of shaft.
(3) Insert the cage onto shaft.
NOTE:
Insert the cage with the cutout portion facing the shaft end, since the cage has an orientation.

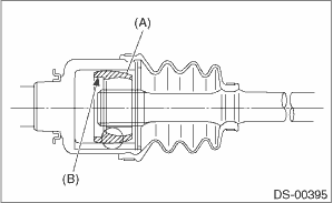
(A) | Cage |
(B) | Cutout portion |
(4) Install the inner race on shaft and fix the snap ring in place with pliers.
NOTE:
Confirm that the snap ring is completely fitted in the shaft groove.

2. Install the cage to the inner race.
(1) Install the cage (B) with the protruding section aligned with the track on the inner race (A), and turn by a half pitch.

(2) Fill 80 to 90 g (2.82 to 3.17 oz) of the specified grease into the inner side of the outer race (DOJ).
(3) Apply a thin coat of specified grease to the cage pocket and ball.
(4) Insert the ball bearings into the cage pocket.
3. Connect the shaft assembly to the outer race (DOJ).
(1) Align the outer race (DOJ) track and ball positions, and place the shaft, inner race, cage and ball bearings in the original positions, and then fix outer race (DOJ) in place.

(A) | Outer race (DOJ) |
(B) | Grease |
(2) Install the snap ring in the groove of the outer race (DOJ).
CAUTION:
Be careful of the following items during installation:
• Make sure that the balls, cage and inner race are completely fitted in the outer race (DOJ).
• Use care not to place the matched position of snap ring in the ball groove of outer race (DOJ).
• Pull the shaft lightly and assure that the circlip is completely fitted in the groove.
(3) Apply an even coat of the specified grease [20 to 30 g (0.71 to 1.06 oz)] to the entire inner surface of boot (DOJ). Also apply grease to the shaft.
(4) Attach the boot (DOJ) taking care not to twist it.
NOTE:
• The inside of the large end of boot (DOJ) and the boot groove shall be cleaned so as to be free from grease and other substances.
• When installing the boot (DOJ), position the outer race (DOJ) at center of the stroke.
(5) Put a new boot band through the clip and wind twice in the band groove of the boot (DOJ).
(6) Pinch the end of boot band with pliers. Hold the clip and tighten securely.
NOTE:
When tightening boot, use care so that the air within the boot is appropriate.
(7) Tighten the boot band using the ST.
NOTE:
Tighten the boot band until it cannot be moved by hand.
Preparation tool:
ST: BAND TIGHTENING TOOL (925091000)

(8) Tap the clip with the punch provided at the end of the ST.
NOTE:
Tap to an extent that the boot underneath is not damaged.
Preparation tool:
ST: BAND TIGHTENING TOOL (925091000)

(9) Cut off the boot band with an allowance of about 10 mm (0.39 in) left from the clip and bend this allowance over the clip.
CAUTION:
Make sure that the end of the boot band is in close contact with clip.
4. Install the boot band to the boot (BJ) or boot (EBJ) in the same procedure as the boot (DOJ).
5. Extend and retract the DOJ repeatedly to provide an equal coating of grease.
Rear drive shaft
RemovalDtc c2533 control module board temperature sensor
POWER ASSISTED SYSTEM (POWER STEERING) (DIAGNOSTICS) > Diagnostic Procedure with Diagnostic Trouble Code (DTC)DTC C2533 CONTROL MODULE BOARD TEMPERATURE SENSORTROUBLE SYMPTOM:The steering wheel operation feels heavy.NOTE:When this code is displayed, replace the power steering control module with ...
Dtc b2271 ign relay control circuit
KEYLESS ACCESS WITH PUSH BUTTON START SYSTEM (DIAGNOSTICS) > Diagnostic Procedure with Diagnostic Trouble Code (DTC)DTC B2271 IGN RELAY CONTROL CIRCUITDTC detecting condition:• When malfunction is detected in IG1 and IG2 drive circuits in the keyless access CM.• When malfunction is de ...
PIN Code Access (models with "keyless access with push-button start system")
Rear lock button
While all doors (including the rear gate)
are locked, you can unlock the doors
(including the rear gate) without a key by
pressing the rear lock button.
NOTE
PIN Code Access will be helpful if the
key is accidentally left in the vehicle. It
is recommended that a 5-d ...