ENTERTAINMENT > General Description
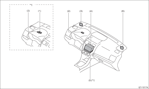
LOCATION
1. AUDIO AND NAVIGATION SYSTEM

(1) | Telematics sub antenna | (3) | Speaker ASSY - tweeter front LH | (5) | Data communication module |
(2) | GPS antenna ASSY | (4) | Audio ASSY or navigation ASSY | (6) | Speaker ASSY - tweeter front RH |
*1: Model with telematics | |||||

(1) | Telematics antenna | (4) | Front door speaker ASSY LH | (6) | Rear door speaker ASSY RH |
(2) | Antenna ASSY - roof | (5) | Front door speaker ASSY RH | (7) | Rearview camera ASSY |
(3) | Rear door speaker ASSY LH | ||||
*1: Model with telematics | |||||
2. TELEMATICS SYSTEM
Refer to “LOCATION” of “TELEMATICS SYSTEM (DIAGNOSTICS)” section. Electrical Component Location > LOCATION">
Component
Gps antennaDtc b14e9 intake door actuator circuit open
HVAC SYSTEM (AUTO A/C) (DIAGNOSTICS) > Diagnostic Procedure with Diagnostic Trouble Code (DTC)DTC B14E9 INTAKE DOOR ACTUATOR CIRCUIT OPENDTC detecting condition:Intake door actuator potentiometer circuit is open.Trouble symptom:FRESH/RECIRC does not operate.Wiring diagram:Air conditioning system ...
Dtc c0022 front right abs sensor signal
VEHICLE DYNAMICS CONTROL (VDC) (DIAGNOSTICS) > Diagnostic Procedure with Diagnostic Trouble Code (DTC)DTC C0022 FRONT RIGHT ABS SENSOR SIGNALNOTE:For the diagnostic procedure, refer to “DTC C0028 REAR LEFT ABS SENSOR SIGNAL”. Diagnostic Procedure with Diagnostic Trouble Code (DTC) &g ...
Preparation tool
EyeSight (DIAGNOSTICS) > General DescriptionPREPARATION TOOL1. SPECIAL TOOLILLUSTRATIONTOOL NUMBERDESCRIPTIONREMARKS — SUBARU SELECT MONITOR 4Used for setting of each function and troubleshooting for electrical system.NOTE:For detailed operation procedures of Subaru Select Monitor 4, refer to & ...