

WARNING
In the Subaru Ascent, fastening a seatbelt with twisted webbing can significantly increase the risk and severity of injuries during a collision.
When pulling the seatbelt from the retractor and connecting the anchor tongue plate to the corresponding buckle on the right-hand side, always verify that the webbing is flat and not twisted.

WARNING
If only the shoulder portion is used without connecting the anchor tongue plate, the seatbelt will not properly restrain the occupant, which may result in serious injury or death.
Before sitting, always raise the head restraint to the extended position to provide adequate support and reduce injury risk in an accident.

The Subaru Ascent third-row center seatbelt is neatly stored in a ceiling-mounted compartment when not in use.
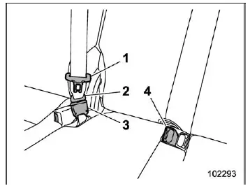
1. Pull the anchor tongue plate out from the ceiling slot by drawing it toward the rear.

2. Slowly extend the seatbelt from the overhead retractor.

3. After confirming the webbing is not twisted, insert the anchor tongue plate into the right-hand buckle until a click is heard.

4. Insert the center tongue plate into the buckle labeled "CENTER" on the left-hand side until it clicks securely.

5. Tighten the lap portion by pulling upward on the shoulder belt.
6. Position the lap belt low across the hips, not across the waist, to ensure maximum protection in the Subaru Ascent.
Seatbelt comfort guide
The Subaru Ascent is equipped with a seatbelt comfort guide to help position the shoulder belt more comfortably for passengers.

1. Remove the comfort guide from the shoulder pocket.

2. Thread the seatbelt through the guide slot, ensuring the elastic cord remains behind the belt.

3. Fasten the seatbelt and adjust it for a comfortable and secure fit.
Unfastening the seatbelt

1. Press the release button on the center buckle to unfasten the seatbelt.
NOTE
When folding the seatback in the Subaru Ascent, it is necessary to disconnect the seatbelt connector.

2. Insert a tongue plate or similar object into the slot of the anchor buckle on the right-hand side to release the anchor tongue plate.

3. Hold the belt and allow it to retract slowly into the ceiling mechanism. Guide it carefully to prevent twisting and store both tongue plates neatly in their designated slots.

CAUTION
Seatbelt maintenance
To maintain the seatbelts in the Subaru Ascent, clean them using mild soap and lukewarm water. Avoid using bleach or dyes, as these substances can weaken the belt material and compromise safety.
Regularly inspect all seatbelt components, including webbing, buckles, and mounting hardware, for signs of wear such as cuts, fraying, or looseness. Replace any damaged seatbelt components immediately, even if the damage appears minor.
CAUTION
The advanced seatbelt system in the Subaru Ascent is engineered to deliver maximum protection when used correctly, ensuring safety for all passengers across every seating position.
Fastening the seatbelt
Seatbelt extenderDtc u0416 invalid data received from vehicle dynamics control module
TELEMATICS SYSTEM (DIAGNOSTICS) > Diagnostic Procedure with Diagnostic Trouble Code (DTC)DTC U0416 INVALID DATA RECEIVED FROM VEHICLE DYNAMICS CONTROL MODULEThis is detected when CAN data from VDC is abnormal.NOTE:Perform the diagnosis for LAN system. Basic Diagnostic Procedure > PROCEDURE&qu ...
Dtc b2329 rear radar axis alignment incomplete
Blind Spot Detection/Rear Cross Traffic Alert (DIAGNOSTICS) > Diagnostic Procedure with Diagnostic Trouble Code (DTC)DTC B2329 REAR RADAR AXIS ALIGNMENT INCOMPLETEDTC DETECTING CONDITION:Axis adjustment of the radar sensor has failed.(Forced termination of the Subaru Select Monitor, improper loca ...
Removal
SECURITY AND LOCKS > Keyless BuzzerREMOVAL1. Disconnect the ground cable from battery. NOTE">2. Lift up the vehicle.3. Remove the clips and screws, and turn over the front side of the mud guard - front RH.4. Remove the keyless buzzer.(1) Disconnect the connector.(2) Remove the clip and d ...