DIFFERENTIALS > Rear Differential (VA-type)
DISASSEMBLY
To detect the real cause of trouble, inspect the following items before disassembling.
• Tooth contact and backlash between hypoid driven gear and drive pinion
1. Set the ST on vise and install the differential assembly to ST.
| ST 398217700 | ATTACHMENT SET |

2. Remove the drain plug and filler plug.
3. Remove the rear cover by removing retaining bolts.
NOTE:
Remove it by tapping with a plastic hammer.

4. Remove the stud bolts from rear cover if necessary.
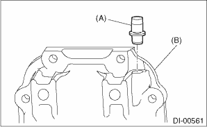
5. Remove the air breather cap.
NOTE:
• Do not attempt to remove the air breather cap unless necessary.
• Whenever the air breather cap is removed, replace it with a new part.

(A) | Air breather cap |
(B) | Rear cover |
6. Remove the lock plate RH and LH.

7. Remove the side retainer RH and LH with ST.
NOTE:
When keeping the retainers aside, use labels etc. to avoid confusing the left and right.
| ST 18630AA010 | WRENCH COMPL RETAINER |

8. Pull out the differential case assembly from differential carrier.
NOTE:
Be careful not to hit the teeth of hypoid driven gear against the differential carrier.

9. Remove the bearing race from side retainer RH and LH with ST1 and ST2.
| ST1 499705401 | PULLER ASSY |
| ST2 499705404 | SEAT |

(A) | Bearing race |
(B) | Side retainer |
10. Remove the oil seal from RH and LH side retainers.
NOTE:
Perform this operation only when changing oil seal.

11. Remove the O-rings.
12. Remove the side bearing cone with ST1 and ST2.
NOTE:
• Do not attempt to disassemble the parts unless necessary.
• Set the puller so that its claws catch the edge of the side bearing cone.
• Store so that the right and left side bearing races and cones are not mixed together.
| ST1 899524100 | PULLER SET |
| ST2 399520105 | SEAT |

13. Using the ST, loosen the hypoid driven gear bolt and remove the hypoid driven gear.
| ST 18270KA020 | SOCKET (E20) |

14. Remove the spring pin from hypoid driven gear side using ST.
| ST 899904100 | STRAIGHT PIN REMOVER |

15. Draw out the pinion mate shaft and remove pinion mate gears, side gears and side gear thrust washers.
NOTE:
The gears and washers should be marked with RH or LH, front or rear, or kept separately.

(A) | Side gear |
(B) | Pinion mate gear |
(C) | Side gear thrust washer |
(D) | Differential case |
(E) | Pinion mate shaft |
16. Remove the self-locking nut while securing the companion flange with ST.
| ST 498427200 | FLANGE WRENCH |

17. Extract the companion flange with a puller.

(A) | Companion flange |
(B) | Puller |
18. Press the end of drive pinion shaft using ST and remove the rear bearing cone, pinion height adjusting washer, preload adjusting spacer and washer.
NOTE:
Hold the drive pinion so as not to drop it.
| ST 398467700 | DRIFT |

19. Remove the rear bearing cone from drive pinion by supporting the bearing cone with ST.
NOTE:
Place the remover so that its center-recessed side faces the bearing cone.
| ST 498515500 | REMOVER |

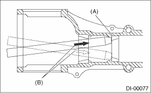
20. Remove the front oil seal from differential carrier using ST.
| ST 398527700 | PULLER ASSY |

(A) | Differential carrier |
(B) | Front oil seal |
21. Remove the pilot bearing together with the front bearing cone and spacer using the ST.
| ST 398467700 | DRIFT |

(A) | Pilot bearing |
(B) | Spacer |
(C) | Front bearing |
(D) | Rear bearing race |
22. When replacing the bearings, tap out the front bearing race and rear bearing race in this order using a brass bar to remove them.

(A) | 2 cutout portions along diagonal lines |
(B) | Tap alternately with brass bar. |
Assembly
InspectionDtc p160a random access memory (ram) error
CONTINUOUSLY VARIABLE TRANSMISSION (DIAGNOSTICS) > Diagnostic Procedure with Diagnostic Trouble Code (DTC)DTC P160A RANDOM ACCESS MEMORY (RAM) ERRORDTC DETECTING CONDITION:Detected when two consecutive driving cycles with fault occur.TROUBLE SYMPTOM:TCM RAM malfunctionSTEPCHECKYESNO1.CHECK DTC.1) ...
To arm the system using power door locking switches
1. Close all windows.
2. Remove the key from the ignition
switch (models without "keyless access
with push-button start system")/turn the
push-button ignition switch to the "OFF"
position (models with "keyless access with
push-button start system").
3. Open the doors and get out of the
v ...
How to change the display of Surround View Monitor
When the ignition of the Subaru Ascent is in the "ON" position, the system can
be operated using the select lever and the view monitor switch to display various
camera angles.
View monitor switch
View icon
Checking your surroundings while the vehicle is stopped
To ...