WHEEL AND TIRE SYSTEM > General Description
SPECIFICATION
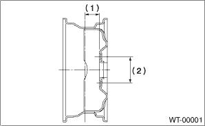
1. NOTE

(1) | Inset |
(2) | P.C.D. |
NOTE:
Size and inflation pressure of the standard equipment tire, temporary tire and appropriate tire for equipment are described on the “Tire inflation pressure” label attached to the body side of the driver’s door.
2. STANDARD EQUIPMENT TIRE & WHEEL
Tire size | Wheel size | Inset mm (in) | P.C.D. mm (in) | Tire inflation pressure kPa (kgf/cm2, psi) | ||
Front wheel | Rear wheel | |||||
P225/55R17 95H | 17 ? 7J | 48 (1.89) | 100 (3.94) | MT | 220 (2.2, 32) | 210 (2.1, 30) |
CVT | 230 (2.3, 33) | 220 (2.2, 32) | ||||
225/55R17 97 V | 220 (2.2, 32) | 210 (2.1, 30) | ||||
3. TEMPORARY TIRE & WHEEL
Tire size | Wheel size | Inset mm (in) | P.C.D. mm (in) | Tire inflation pressure kPa (kgf/cm2, psi) | |
Front wheel | Rear wheel | ||||
T145/90D16 106M | 16 ? 4T | 20 (0.79) | 100 (3.94) | – | 420 (4.2, 60) |
185/65R17 90M | 17 ? 6JJ | 55 (2.17) | – | 290 (3.0, 42) | |
4. SERVICE DATA
Part | Axial runout | Radial runout |
Steel wheel | 1.5 mm (0.059 in) | |
Aluminum wheel | 1.0 mm (0.039 in) | |
Wheel balancing | Standard | Service limit |
Dynamic unbalance | 5 g (0.18 oz) or less | |
Component
Preparation toolKeyless access with push-button start system (if equipped)
The keyless access with push-button start
system allows you to perform the following
functions when you are carrying the
access key.
Locking and unlocking of the doors and
rear gate
Starting and stopping the engine. For
detailed information, refer to "Starting and
stopping engine (mod ...
Time lag test Inspection
CONTINUOUSLY VARIABLE TRANSMISSION(TR580) > Time Lag TestINSPECTIONNOTE:When the select lever is shifted while the engine is idling, there will be a certain time elapse or lag before shock is felt. This symptom helps to check the condition of forward clutch and reverse brake.• Perform the t ...
Dtc c2321 transmitter 1 function code abnormal
TIRE PRESSURE MONITORING SYSTEM (DIAGNOSTICS) > Diagnostic Procedure with Diagnostic Trouble Code (DTC)DTC C2321 TRANSMITTER 1 FUNCTION CODE ABNORMALNOTE:Refer to DTC C2324 for diagnostic procedure. Diagnostic Procedure with Diagnostic Trouble Code (DTC) > DTC C2324 TRANSMITTER 4 FUNCTION COD ...