EXTERIOR/INTERIOR TRIM > Instrument Panel Assembly
REMOVAL
CAUTION:
• Before handling the airbag system components, refer to “CAUTION” of “General Description” in “AIRBAG SYSTEM”. General Description > CAUTION">
• Be careful not to damage the airbag system harness when servicing the instrument panel. Damage may cause the system to malfunction.
NOTE:
Remove the instrument panel assembly and the beam COMPL - steering as a unit.
1. Disconnect the ground cable from battery and wait for at least 60 seconds before starting work. NOTE">
NOTE:
On CVT models, shift the select lever into “N” before disconnecting the battery ground cable.
2. Remove the console box assembly, the cover - shift lever and the panel center LWR on the RH and LH sides. Console Box > REMOVAL">
3. Remove the cover - instrument panel side and the cover assembly - instrument panel LWR driver. Instrument Panel Lower Cover > REMOVAL">
4. Remove the cover switch - starter. (Models without the keyless access with push button start)
(1) Release the claws and remove the cover switch - starter.
(2) Disconnect the connector and aspirator hose.

5. Remove the panel - switch. (Model with keyless access with push button start)
(1) Release the claw of the switch - push button start, and disconnect the connector.
(2) Release the claws, and then remove the panel - switch.
(3) Disconnect the connector and aspirator hose.

6. Remove the knee airbag module. Knee Airbag Module > REMOVAL">
7. Release the clips and claws, then detach the left and right grille speaker side.

NOTE:
Remove the grille speaker side by using a plastic remover.
8. Remove the trim panel - front pillar UPR on the left and right sides. Upper Inner Trim > REMOVAL">
9. Remove the glove box assembly. Glove Box > REMOVAL">
10. On manual A/C models, disconnect the control cables from both sides of the heater & cooling unit.

11. Remove the center grille assembly. Air Vent Grille > REMOVAL">
12. Remove the audio assembly or navigation assembly. Audio > REMOVAL">
13. Remove the multi-function display assembly. Multi-function Display (MFD) > REMOVAL">
14. Remove the combination meter assembly. Combination Meter > REMOVAL">
15. Disconnect the passenger’s airbag module connector. Airbag Connector > PROCEDURE">

16. Remove the column assembly - steering. Steering Column > REMOVAL">
17. Remove the cover side sill - front INN and cover side sill - front on the RH and LH side. Lower Inner Trim > REMOVAL">
18. Remove the body side weather strip - flange front.
19. Remove the instrument panel assembly and the beam COMPL - steering as a unit.
CAUTION:
The instrument panel assembly and the beam COMPL - steering are heavy. Always work in a team of two persons when removing them from the vehicle, so as not to damage the vehicle interior.
(1) Remove the fuse box and relay box.
(2) Disconnect all harness clamps and connectors of the instrument panel harness.
(3) Remove the TORX® bolt. (a), (b)
Preparation tool:
TORX® T40
(4) Remove the bolts at the floor center. (c), (d)
(5) Remove the bolt. (e), (f)

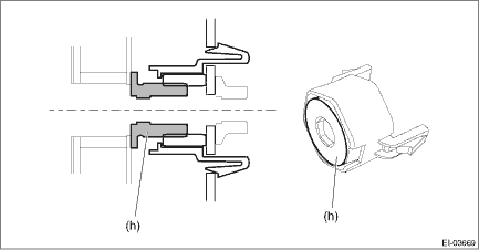
(6) Loosen the adjuster portion (h) of the adjuster - clip space. (Only LH side of the beam COMPL - steering)
Preparation tool:
Hexagon wrench: 8 mm (0.31 in)

(7) Slightly lift the instrument panel assembly together with the beam COMPL - steering to detach the left and right pins. Then pull it toward you to remove the assembly.
CAUTION:
• Check that all harness clamps and connectors are detached.
• The instrument panel assembly and the beam COMPL - steering are heavy. Always work in a team of two persons when removing them from the vehicle, so as not to damage the vehicle interior.

20. Remove the grille front defroster.
(1) Disconnect the sunload sensor.
(2) Release the claws and remove the grille front defroster.

21. Remove the screws and remove the front (A) and side vent duct (B) LH, RH.

22. Separate the panel COMPL - instrument and the beam COMPL - steering.
(1) Remove the clamps and bolts of the passenger’s airbag module harness.

(2) Remove the left and right speakers.
NOTE:
Detach the harness clamp together.
(3) Disconnect the front accessory socket connector.
(4) Remove the nut (a) and screws (b), (c), (d), (e), (f), (g) and (h).
(5) While being careful with the harness, separate the panel COMPL - instrument and the beam COMPL - steering.

23. Remove the claws, and remove the passenger’s airbag module.

InstallationInstallation
CONTINUOUSLY VARIABLE TRANSMISSION(TR580) > Control Valve BodyINSTALLATION1. Clean the mating surface of valve cover and transmission side.CAUTION:When cleaning the mating surface of the transmission side, be careful not to allow any dust, foreign matter and used liquid gasket to enter the transm ...
Inspection
VEHICLE DYNAMICS CONTROL (VDC) > Rear ABS Wheel Speed SensorINSPECTION1. CHECK WITH SUBARU SELECT MONITOR1. Connect the Subaru Select Monitor.NOTE:For detailed operation procedures, refer to “Application help”.(1) On «Start» display, select «Diagnosis».(2) On «Vehicle selection» ...
Dtc p0132 a/f / o2 sensor circuit high voltage bank 1 sensor 1
ENGINE (DIAGNOSTICS)(H4DO) > Diagnostic Procedure with Diagnostic Trouble Code (DTC)DTC P0132 A/F / O2 SENSOR CIRCUIT HIGH VOLTAGE BANK 1 SENSOR 1DTC DETECTING CONDITION:Immediately at fault recognitionCAUTION:After servicing or replacing faulty parts, perform Clear Memory Mode Clear Memory Mode ...