NOTE
If you unlock the driver's door with a key (including a mechanical key) and open the door while the alarm system is armed, the alarm system is triggered and the vehicle's horn sounds. In this case, perform any of the following operations:
Models with "keyless access with push-button start system":
Press any button on the access key (except when the access key battery is discharged).
Press the push-button ignition switch to "ACC".
Carry the access key and perform either of the following procedures.
Models without "keyless access with push-button start system":
For details about the alarm system, refer to "Alarm system" 2-26.

To lock the driver's door from the outside with the key, turn the key toward the front.
To unlock the door, turn the key toward the rear. Pull the outside door handle to open an unlocked door.

NOTE
For models with "keyless access with push-button start system": The mechanical key is directional. If the key cannot be inserted, change the direction that the grooved side is facing and insert it again.
To lock the door from outside without the key, the following methods are available.
Locking using lock lever


Locking using power door locking switch
In this case, all closed doors and the rear gate are locked at the same time.
Always make sure that all doors and the rear gate are locked before leaving your vehicle.
NOTE
Make sure that you do not leave the key inside the vehicle when locking the doors from the outside without the key.
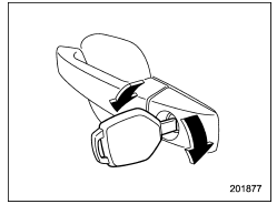
Door locks
Locking and unlocking from the insideRegistering a Bluetooth phone for
the first time
To use the hands-free system, it is
necessary to register a Bluetooth phone
with the system.
For details about registering a Bluetooth
device: Refer to "Registering a Bluetooth
Audio device for the first time"
1. Turn the Bluetooth connection setting
of your cell phone on.
This function ...
Refueling in cold weather
To help prevent moisture from forming in
the fuel system and the risk of its freezing,
use of an antifreeze additive in the fuel
tank is recommended during cold weather.
Use only additives that are specifically
designed for this purpose. When an
antifreeze additive is used, its effect lasts
...
Removal
EXTERIOR/INTERIOR TRIM > Front BumperREMOVAL1. Disconnect the ground cable from battery. NOTE">2. Remove the bumper face - front.(1) Remove the screw and clips, and turn over the mud guard - front.(2) Disconnect the connectors of the left and right fog light assembly - front. (Model with ...