
The Subaru Ascent instrument panel combines modern technology with user-friendly controls, allowing drivers to access critical information quickly while maintaining focus on the road.
NOTE
About the EyeSight system: Refer to the Owner's Manual supplement for the EyeSight system.
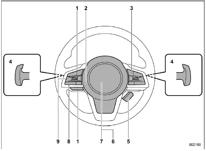
Steering wheel

The multifunction steering wheel in the Subaru Ascent integrates essential controls, allowing the driver to manage audio, communication, and driving assistance systems without distraction.
*1: For details about how to use the switches, refer to the separate navigation/audio
Owner's Manual.
*2: For details about how to use the switches, refer to the Owner's Manual supplement
for the EyeSight system.
Interior
Light control and wiper control levers/switchesPrecautions when working with the parts mounted on the vehicle
WIRING SYSTEM > Working PrecautionsPRECAUTIONS WHEN WORKING WITH THE PARTS MOUNTED ON THE VEHICLE1. When working under a vehicle which is jacked-up, always be sure to use rigid rack.2. The parking brake must always be applied during working. Also, in automatic transmission vehicles, keep the sele ...
Removal
SECURITY AND LOCKS > Access BuzzerREMOVAL1. Disconnect the ground cable from battery. NOTE">2. Lift up the vehicle.3. Remove the clips and screws, and turn over the front side of the mud guard - front RH.4. Remove the access buzzer.(1) Disconnect the connector.(2) Remove the clip and det ...
Inspection
MECHANICAL(H4DO) > Cam CarrierINSPECTION1. Visually check the cam carrier filter, and if clogging is found, replace with a new part.2. Check the camshaft journals for damage and wear. Replace the camshaft if faulty.3. Check the cam face condition of camshaft, and remove the minor faults by grindi ...