HVAC SYSTEM (HEATER, VENTILATOR AND A/C) > Evaporator Sensor
INSTALLATION
CAUTION:
• Make sure that the water seal packing on the cover attachment area is securely attached.
• Replace the O-rings with new parts, and then apply compressor oil.
• Before handling the airbag system components, refer to “CAUTION” of “General Description” in “AIRBAG SYSTEM”. General Description > CAUTION">
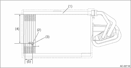
1. Install the thermostat - cooling at the position shown in the figure below.

(1) | Evaporator ASSY - cooling | (3) | Thermostat - cooling | (5) | Fifth row fin from the left end |
(2) | Center | (4) | 130 mm (5.12 in) from the upper end of the fins |
2. Install each part in the reverse order of removal.
3. Charge refrigerant. Refrigerant Charging Procedure > PROCEDURE">
Removal
Expansion valveDtc u1120 lost communication with autostart stop control module
LAN SYSTEM (DIAGNOSTICS) > Diagnostic Procedure with Diagnostic Trouble Code (DTC)DTC U1120 LOST COMMUNICATION WITH AUTOSTART STOP CONTROL MODULENOTE:The electric power steering CM identifies whether the Auto Start Stop function is provided or not using information from the combination meter. The ...
SRS airbag system servicing
WARNING
When disposing of an airbag module or scrapping a Subaru Ascent that
has been involved in a collision, always consult an authorized SUBARU dealer
to ensure safe handling and disposal.
The Subaru Ascent SRS airbag system contains no user-serviceable components.
Never attempt to ...
Removal
MANUAL TRANSMISSION AND DIFFERENTIAL(5MT) > Drive Pinion Shaft AssemblyREMOVAL1. Remove the manual transmission assembly from the vehicle. Manual Transmission Assembly > REMOVAL">2. Remove the transfer case together with the extension case assembly. Transfer Case and Extension Case A ...