FUEL INJECTION (FUEL SYSTEMS)(H4DO) > Fuel Tank
INSTALLATION
1. Support the fuel tank with a transmission jack, set the fuel tank in place, and temporarily tighten the bolts of the fuel tank band.
WARNING:
A helper is required to perform this work.

2. Tighten the bolts of the fuel tank band in the order shown in the figure.
Tightening torque:
33 N·m (3.4 kgf-m, 24.3 ft-lb)

3. Install the stay - rear frame COMPL.
Tightening torque:
33 N·m (3.4 kgf-m, 24.3 ft-lb)

4. Install the heat shield cover and stopper.
Tightening torque:
18 N·m (1.8 kgf-m, 13.3 ft-lb)

5. Install the fuel tank protector. Fuel Tank Protector > INSTALLATION">
6. Connect the vent tube to the canister.
CAUTION:
• Check that there is no damage or dust on the quick connector. If necessary, clean the seal surface of the pipe.
• Make sure that the quick connector is securely connected.
NOTE:
Connect the quick connector as shown in the figure.


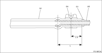
7. Securely insert the fuel filler hose (A) and evaporation hose (B) until the hose end contacts the spool, then attach the clamp or clip as shown in the figure.
Tightening torque:
2.5 N·m (0.3 kgf-m, 1.8 ft-lb)


(a) | Hose | (c) | Spool or bump | (d) | Pipe |
(b) | Clamp or clip |
8. Install the rear differential. Rear Differential (T-type) > INSTALLATION">
Rear Differential (VA-type) > INSTALLATION">
9. Install the rear exhaust pipe and muffler. Rear Exhaust Pipe > INSTALLATION">
Muffler > INSTALLATION">
10. Connect the quick connector of the fuel delivery tube.
CAUTION:
• Check that there is no damage or dust on the quick connector. If necessary, clean the seal surface of the pipe.
• When connecting the quick connector, make sure to insert it all the way in before locking the slider.
• When it is difficult to lock the slider, check that the connector is fully inserted.
• After locking the slider, check again that the quick connector is securely connected.
NOTE:
Connect the quick connector as shown in the figure.

(a) | Slider |

11. Connect the connector to the fuel sub level sensor.

12. Install the service hole cover of fuel sub level sensor.

13. Connect the connector to the fuel pump.

14. Install the service hole cover of fuel pump.

15. Install the rear seat cushion. Rear Seat > INSTALLATION">
16. Connect the battery ground terminal.

RemovalDtc u0402 invalid data received from tcm
LAN SYSTEM (DIAGNOSTICS) > Diagnostic Procedure with Diagnostic Trouble Code (DTC)DTC U0402 INVALID DATA RECEIVED FROM TCMDTC detecting condition:Received error data from TCM.Trouble symptom:Sport indicator light blinks.STEPCHECKYESNO1.CHECK PERFORMING OF BASIC DIAGNOSTIC PROCEDURE.Was the basic ...
Removal
EMISSION CONTROL (AUX. EMISSION CONTROL DEVICES)(H4DO) > PCV ValveREMOVALCAUTION:Do not remove unless the PCV valve is broken.1. Disconnect the PCV hose from the intake manifold and the PCV valve, and then remove the PCV hose.2. Remove the clip (A) holding the air breather hose from the engine ha ...
Dtc u0402 invalid data received from tcm
Blind Spot Detection/Rear Cross Traffic Alert (DIAGNOSTICS) > Diagnostic Procedure with Diagnostic Trouble Code (DTC)DTC U0402 INVALID DATA RECEIVED FROM TCMReceived error data from TCM.NOTE:Perform the diagnosis for LAN system. Basic Diagnostic Procedure > PROCEDURE"> ...