FUEL INJECTION (FUEL SYSTEMS)(H4DO) > Fuel Injector
INSTALLATION
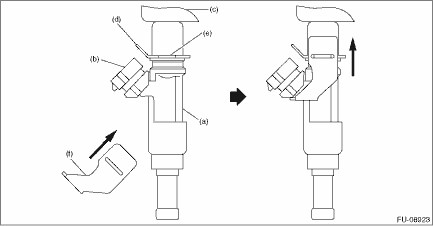
Install in the reverse order of removal.
NOTE:
• Use new fuel injector holder, O-rings, rubbers and seal rings.
• Install the fuel injector so that the connector joint faces the connector rotation stopper side of the fuel pipe.
• Securely put the flange section of fuel pipe into the groove of fuel injector holder.

(a) | Fuel injector | (b) | Connector joint | (c) | Fuel pipe |
(d) | Connector rotation stopper | (e) | Flange section | (f) | Fuel injector holder |
Tightening torque:
6.4 N·m (0.7 kgf-m, 4.7 ft-lb)
RemovalPreparation tool
EyeSight > General DescriptionPREPARATION TOOL1. SPECIAL TOOLILLUSTRATIONTOOL NUMBERDESCRIPTIONREMARKS87599VA000RANDOM CHARTUsed for adjusting stereo camera. — SUBARU SELECT MONITOR 4Used for setting of each function and troubleshooting for electrical system.NOTE:For detailed operation procedur ...
Security indicator light
This indicator light shows the status of the
alarm system. It also indicates operation
of the immobilizer system.
Alarm system
It blinks to show the driver the operational
status of the alarm system. For detailed
information, refer to "Alarm system"
Immobilizer system
The security indicator ...
Certification for remote keyless entry system
U.S.-spec. models
FCC ID: CWTWB1U811
FCC ID: CWTWD1U781
CAUTION
FCC WARNING
Changes or modifications not expressly
approved by the party responsible
for compliance could void
the user's authority to operate the
equipment.
NOTE
This device complies with part 15 of the
FCC Rules. Operation ...