EXTERIOR BODY PANELS > Door Sash Tape
INSTALLATION
CAUTION:
• Do not reuse the removed door sash tape. Replace it with a new tape.
• Press evenly along the sash when applying the tape using a spatula or similar object to make sure no bubbles are formed.
If air bubbles are formed, reapply the tape.
• If the tape is wrinkled, etc. during application, replace the tape.
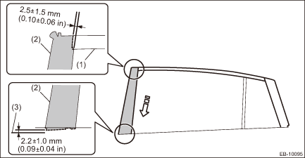
• Be sure to press the ends of the tape firmly to adhere securely. If the tape comes off at the ends or where folded, the adhesive strength is weakened and the tape may peel off.
• There are locations where the tape ends will overlap each other. When applying the tape, be careful of the following order of their application.
• Front

• Rear

1. FRONT DOOR
1. Apply the front door sash tape - medium from the rear of the vehicle towards the front.

2. Apply the front door sash tape - rear from the top of the vehicle towards the bottom.

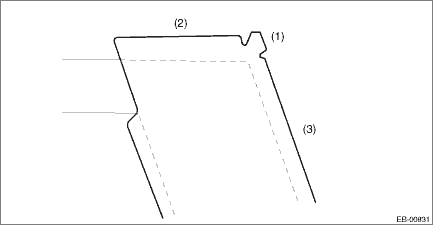
(1) | Front door sash tape - medium | (2) | Front door sash tape - rear | (3) | End of panel outer |
3. Fold the corners at the door upper end area in the order of (1) — (3).

4. Apply the front door sash tape - front from the top of the vehicle towards the bottom.

(1) | Upper end of weather strip | (2) | Front door sash tape - front | (3) | Front door sash tape - medium |
5. Fold the corners at the door upper end area in the order of (1) — (3).

6. Thereafter, install door parts in the reverse order of removal.
NOTE:
Before installation, check the following items.
• Rod of the latch and actuator assembly - front is free from deformation.
• Grease is applied sufficiently to the rod joints of the latch and actuator assembly - front.
• Cable of the latch and actuator assembly - front is free from deformation such as fray.
• Grease is applied sufficiently to the cable joints of the latch and actuator assembly - front.
2. REAR DOOR
1. Apply the rear door sash tape - medium from the front of the vehicle towards the rear.

2. Apply the rear door sash tape - front from the top of the vehicle towards the bottom.

(1) | Rear door sash tape - medium | (2) | Rear door sash tape - front | (3) | End of panel outer |
3. Fold the corners at the door upper end area in the order of (1) — (2).

4. Apply the rear door sash tape - rear from the top of the vehicle towards the bottom.

(1) | End of panel outer | (2) | Rear door sash tape - rear | (3) | Rear door sash tape - medium |
5. Fold the corners at the door upper end area in the order of (1) — (3).

6. Thereafter, install door parts in the reverse order of removal.
NOTE:
Before installation, check the following items.
• Is the lever of the frame assembly - rear door outer is free from deformation?
• Is grease applied sufficiently to the lever joints of the latch and actuator assembly - rear?
• Is the cable of the latch and actuator assembly - rear free from deformation such as fray?
• Is grease applied sufficiently to the cable joints of the latch and actuator assembly - rear?
Door sash tape
RemovalDtc u0122 lost communication with vehicle dynamics control module
INSTRUMENTATION/DRIVER INFO (DIAGNOSTICS) > Diagnostic Procedure with Diagnostic Trouble Code (DTC)DTC U0122 LOST COMMUNICATION WITH VEHICLE DYNAMICS CONTROL MODULEDetected when CAN data from VDC does not arrive.NOTE:Perform the diagnosis for LAN system. Basic Diagnostic Procedure > PROCEDURE ...
Dtc u0402 invalid data received from tcm
ENGINE (DIAGNOSTICS)(H4DO) > Diagnostic Procedure with Diagnostic Trouble Code (DTC)DTC U0402 INVALID DATA RECEIVED FROM TCMNOTE:For the diagnostic procedure, refer to LAN section. Basic Diagnostic Procedure">1. OUTLINE OF DIAGNOSISDetect malfunction of CAN communication.Judge as NG when ...
Procedure
HVAC SYSTEM (HEATER, VENTILATOR AND A/C) > Refrigerant Pressure with Manifold Gauge SetPROCEDURE1. REFRIGERANT GAS PRESSURE INSPECTION1. Prepare the vehicle.NOTE:Check that the ambient temperature is 25 — 40°C (77 — 104°F) and that the humidity is 30% — 80%.• Pla ...