WIPER AND WASHER SYSTEMS > Rear Wiper Motor
INSPECTION
CAUTION:
Fix the motor to prevent the motor from being shorted by moving during operation.
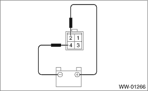
1. Connect the battery to the motor assembly - rear wiper connector, and check that the motor assembly - rear wiper operates.

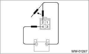
2. Connect the battery to terminals of the connector, and remove the terminal connection with motor rotating, and stop the motor in mid-operation.

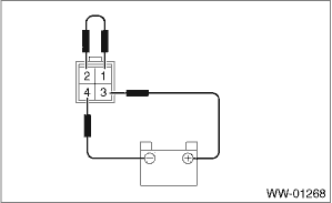
3. Connect the battery and check that the motor stops at the automatic stop position after the motor operates at low speed again.

Rear wiper motor
RemovalDtc p0346 camshaft position sensor "a" circuit range/performance bank 2
ENGINE (DIAGNOSTICS)(H4DO) > Diagnostic Procedure with Diagnostic Trouble Code (DTC)DTC P0346 CAMSHAFT POSITION SENSOR "A" CIRCUIT RANGE/PERFORMANCE BANK 2NOTE:For the diagnostic procedure, refer to DTC P0345. Diagnostic Procedure with Diagnostic Trouble Code (DTC) > DTC P0345 CAMSH ...
Preparation tool
CLUTCH SYSTEM > General DescriptionPREPARATION TOOL1. SPECIAL TOOLILLUSTRATIONTOOL NUMBERDESCRIPTIONREMARKS498497100CRANKSHAFT STOPPERUsed for stopping rotation of the flywheel.499747100CLUTCH DISC GUIDEUsed for installing the clutch disc to the flywheel. — SUBARU SELECT MONITOR 4Used for setti ...
Dtc u1500 keyless uart com. Malfunction
BODY CONTROL SYSTEM (DIAGNOSTICS) > Diagnostic Procedure with Diagnostic Trouble Code (DTC)DTC U1500 KEYLESS UART COM. MALFUNCTION1. MODEL WITHOUT KEYLESS ACCESS WITH PUSH BUTTON START SYSTEMDTC detecting condition:UART between the TPMS & keyless control module or keyless entry CM and the bod ...