MANUAL TRANSMISSION AND DIFFERENTIAL(5MT) > Shifter Fork and Rod
INSPECTION
1. Check the shifter fork and fork rod for damage. Replace if it is damaged.
2. Gearshift mechanism
Repair or replace the gearshift mechanism if excessively worn, bent or defective in any way.
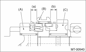
3. Inspect the clearance between 1st, 2nd driven gear and reverse driven gear. If any clearance is not within specifications, replace the shifter fork as required.
Clearance (a) and (b):
9.5 mm (0.374 in)

(A) | 1st driven gear |
(B) | Reverse driven gear |
(C) | 2nd driven gear |
1st-2nd shifter fork | ||
Part No. | Mark | Remarks |
32804AA060 | 1 | Approaches 1st gear by 0.2 mm (0.008 in). |
32804AA070 | No mark | Standard |
32804AA080 | 3 | Approaches 2nd gear by 0.2 mm (0.008 in). |
4. Inspect the clearance between the 3rd, 4th drive gear and the coupling sleeve. If any clearance is not within specifications, replace the shifter fork as required.
Clearance (a) and (b):
9.3 mm (0.366 in)

(A) | 3rd drive gear |
(B) | Coupling sleeve |
(C) | 4th drive gear |
3rd-4th shifter fork | ||
Part No. | Mark | Remarks |
32810AA061 | 1 | Approaches 4th gear by 0.2 mm (0.008 in). |
32810AA071 | No mark | Standard |
32810AA101 | 3 | Approaches 3rd gear by 0.2 mm (0.008 in). |
5. Inspect the clearance between 5th drive gear and coupling sleeve. If any clearance is not within specifications, replace the shifter fork as required.
Clearance (a):
9.3 mm (0.366 in)

(A) | 5th drive gear |
(B) | Coupling sleeve |
5th shifter fork | ||
Part No. | Mark | Remarks |
32812AA201 | 7 | Approaches 5th gear by 0.2 mm (0.008 in). |
32812AA211 | No mark | Standard |
32812AA221 | 9 | Moves away from 5th gear by 0.2 mm (0.008 in). |
6. Inspect the rod end clearances (A) and (B). If any clearance is not within specifications, replace the fork rod or shifter fork as required.
Clearance (A):
3rd-4th — 5th
0.5 — 1.3 mm (0.020 — 0.051 in)
Clearance (B):
1st-2nd — 3rd-4th
0.4 — 1.4 mm (0.016 — 0.055 in)

RemovalSystem maintenance
NOTE
For models without "keyless access
with push-button start system":
In the event that the vehicle's battery is
replaced, discharged or disconnected,
it will be necessary to start the vehicle
a minimum of one time using the key
prior to activating the remote engine
start system. This is r ...
Dtc b1677 satellite safing sensor initialization incomplete
AIRBAG SYSTEM (DIAGNOSTICS) > Diagnostic Chart with Trouble CodeDTC B1677 SATELLITE SAFING SENSOR INITIALIZATION INCOMPLETEDiagnosis start condition:Ignition voltage is 10 V to 16 V.DTC detecting condition:• Open or short circuit in harness of satellite safing sensor• Satellite safing ...
Dtc u0101 lost communication with tcm
KEYLESS ACCESS WITH PUSH BUTTON START SYSTEM (DIAGNOSTICS) > Diagnostic Procedure with Diagnostic Trouble Code (DTC)DTC U0101 LOST COMMUNICATION WITH TCMDetected when CAN data from TCM does not arrive.NOTE:Perform the diagnosis for LAN system. Basic Diagnostic Procedure > PROCEDURE"> ...