ENGINE (DIAGNOSTICS)(H4DO) > Diagnostic Procedure with Diagnostic Trouble Code (DTC)
DTC P0101 MASS OR VOLUME AIR FLOW SENSOR "A" CIRCUIT RANGE/PERFORMANCE
DTC DETECTING CONDITION:
Detected when two consecutive driving cycles with fault occur.
TROUBLE SYMPTOM:
• Improper idling
• Engine stall
• Poor driving performance
CAUTION:
After servicing or replacing faulty parts, perform Clear Memory Mode Clear Memory Mode > OPERATION">
, and Inspection Mode Inspection Mode > PROCEDURE">
.
| STEP | CHECK | YES | NO |
1.CHECK FOR ANY OTHER DTC ON DISPLAY.
Is any other DTC displayed?
Check the appropriate DTC using the “List of Diagnostic Trouble Code (DTC)”. List of Diagnostic Trouble Code (DTC)">
Replace the mass air flow and intake air temperature sensor. Mass Air Flow and Intake Air Temperature Sensor">
1. OUTLINE OF DIAGNOSIS
Detect the malfunction of air flow sensor output properties.
Judge as a low side NG when the air flow voltage indicates a small value regardless of running in a state where the air flow voltage increases. Judge as a high side NG when the air flow voltage indicates a large value regardless of running in a state where the air flow voltage decreases. Judge air flow sensor property NG when the Low side or High side becomes NG.
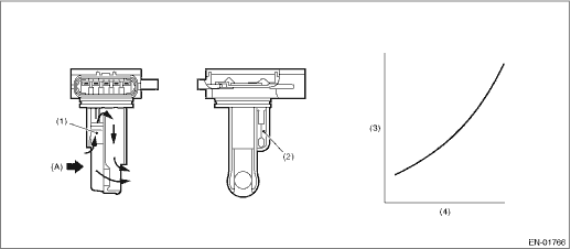
2. COMPONENT DESCRIPTION

(A) | Air | ||||
(1) | Air flow sensor | (3) | Voltage (V) | (4) | Intake air amount (kg (lb)/s) |
(2) | Intake air temperature sensor |
3. EXECUTION CONDITION
Secondary parameters | Execution condition |
Low | |
Engine speed | ≥ 1800 rpm |
Throttle position | ≥ 12 ° (CVT model) ≥ 12 ° (MT model) |
Intake manifold pressure (with atmospheric pressure compensation) | ≥ 74.7 kPa (560 mmHg, 22 inHg) (CVT model) ≥ 74.7 kPa (560 mmHg, 22 inHg) (MT model) |
High | |
Engine speed | 500 rpm — 800 rpm (CVT model) 500 rpm — 950 rpm (MT model) |
Throttle position | < 5 ° |
Intake manifold pressure (with atmospheric pressure compensation) | < 56 kPa (420 mmHg, 16.5 inHg) (CVT model) < 46.7 kPa (350 mmHg, 13.8 inHg) (MT model) |
4. GENERAL DRIVING CYCLE
Perform the diagnosis continuously after idling.
5. DIAGNOSTIC METHOD
Judge as NG when Low side or High side becomes NG.
If the duration of time while the following conditions are met is longer than the time indicated, judge as NG.
Malfunction Criteria | Threshold Value |
Low | |
Output voltage (Air amount) 8.4 g/s (0.3 oz/s) | < 1.698 V (CVT model) < 1.66 V (MT model) |
High | |
Output voltage (Air amount) 8.4 g/s (0.3 oz/s) | ≥ 1.698 V (CVT model) ≥ 1.66 V (MT model) |
Time Needed for Diagnosis:
Low: 5000 ms
High: 5000 ms
Malfunction indicator light illumination: Illuminates when malfunction occurs in 2 continuous driving cycles.
Dtc p0073 ambient air temperature sensor circuit "a" high
Dtc p0102 mass or volume air flow sensor "a" circuit lowAir bleeding Procedure
BRAKE > Air BleedingPROCEDURECAUTION:• Do not let brake fluid come into contact with the painted surface of the vehicle body. Wash away with water immediately and wipe off if it is spilled by accident.• Avoid mixing brake fluid of different brands or different grades even from the sam ...
Assembly
DRIVE SHAFT SYSTEM > Rear Drive ShaftASSEMBLYCAUTION:Wrap shaft splines with vinyl tape to protect the boot from scratches.NOTE:Use specified grease.Grease:BJ, EBJ side: NKG814DOJ side: NKG8141. Install the inner race to the shaft.(1) Install the boot (BJ) or boot (EBJ) in the specified position, ...
Installation
BRAKE > Front Brake PadINSTALLATIONNOTE:Before installation, remove mud and foreign matter from the caliper body assembly and support - front disc brake.1. Check the brake pad. Front Brake Pad > INSPECTION">2. Apply a thin coat of grease to the pad clip.Preparation items:Grease: An it ...