EXTERIOR BODY PANELS > Rear Gate
DISPOSAL
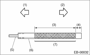
1. REAR GATE DAMPER STAY
CAUTION:
Gas is colorless, odorless, and harmless. However, gas pressure may spray cutting powder or oil. Be sure to wear dust-resistant goggles.
1. Cover with a vinyl sack as shown in the figure.

(1) | Stay ASSY - rear gate |
(2) | Vinyl sack |
NOTE:
Prevent the vinyl sack from being caught by drill cutting edge.
2. Lift the body side slightly with piston rods fully extended, and secure the body side with vise.
Drill a hole of 2 to 3 mm (0.08 to 0.12 in) diameter at a point 6 to 196 mm (0.24 to 7.72 in) from the body side, and bleed the gas in the stay assembly - rear gate completely.

(1) | Door side |
(2) | Body side |
(3) | 196 mm (7.72 in) |
(4) | 6 mm (0.24 in) |
(5) | Piston rod |
(6) | Cylinder |
(7) | Portion to be drilled |
Removal
InstallationDtc p0038 a/f / o2 heater control circuit high bank 1 sensor 2
ENGINE (DIAGNOSTICS)(H4DO) > Diagnostic Procedure with Diagnostic Trouble Code (DTC)DTC P0038 A/F / O2 HEATER CONTROL CIRCUIT HIGH BANK 1 SENSOR 2DTC DETECTING CONDITION:Detected when two consecutive driving cycles with fault occur.CAUTION:After servicing or replacing faulty parts, perform Clear ...
Inspection
COOLING(H4DO) > RadiatorINSPECTION1. Check that the radiator does not have deformation, cracks or damage.2. Check that the hose has no cracks, damage or loose part.3. Remove the radiator cap, fill the radiator with engine coolant, and then install the radiator cap tester to the filler neck of rad ...
Inspection
SEAT BELT SYSTEM > Rear Seat BeltINSPECTION1. VISUAL INSPECTIONCheck for the following, and replace with new parts if necessary.• Seat belt is slackened, bent or worn.• Seat belt is abnormally wound or extended.• Seat belt inner - rear is deformed or damaged.• Seat belt bu ...