WIPER AND WASHER SYSTEMS > Front Wiper Motor and Link
INSPECTION
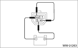
1. Check that the following operations perform normally.
CAUTION:
Fix the motor to prevent the motor from being shorted by moving during operation.
(1) When the battery is connected to the terminal of connectors, confirm that the motor operates at low speed.

(2) When the battery is connected to the terminal of connectors, confirm that the motor operates at high speed.

(3) Connect the battery to terminals of the connector, and remove the terminal connection with motor rotating at low speed, and stop the motor assembly - windshield wiper in mid-operation.

(4) Connect the battery and check that the motor stops at the automatic stop position after the motor operates at low speed again.

NOTE:
Replace the motor assembly - windshield wiper if the inspection result is not within the standard.
2. Install the motor assembly - windshield wiper. Front Wiper Motor and Link > INSTALLATION">
RemovalInstallation
LIGHTING SYSTEM > Front Fog Light AssemblyINSTALLATIONCAUTION:Install the mud guard - front so that the front end of the mud guard (b) comes outside the bumper face - front (a).1. Install each part in the reverse order of removal.Tightening torque:Fog light assembly - front: 7.5 N·m (0.76 ...
Dtc b14e6 mode door actuator stepping motor circuit short-circuit
HVAC SYSTEM (AUTO A/C) (DIAGNOSTICS) > Diagnostic Procedure with Diagnostic Trouble Code (DTC)DTC B14E6 MODE DOOR ACTUATOR STEPPING MOTOR CIRCUIT SHORT-CIRCUITDTC detecting condition:Mode door actuator stepping motor circuit is shorted.Trouble symptom:Vent does not change.Wiring diagram:Air condi ...
Dtc p0507 idle control system rpm - higher than expected
ENGINE (DIAGNOSTICS)(H4DO) > Diagnostic Procedure with Diagnostic Trouble Code (DTC)DTC P0507 IDLE CONTROL SYSTEM RPM - HIGHER THAN EXPECTEDDTC DETECTING CONDITION:Detected when two consecutive driving cycles with fault occur.TROUBLE SYMPTOM:Engine keeps running at higher speed than specified idl ...