MANUAL TRANSMISSION AND DIFFERENTIAL(5MT) > General Description
COMPONENT
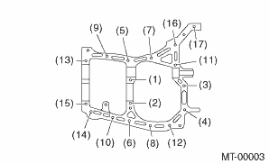
1. TRANSMISSION CASE

(1) | Transmission case ASSY | (7) | Pitching stopper bracket | Tightening torque: N·m (kgf-m, ft-lb) | |
(2) | Gasket | (8) | Oil level gauge | T: | 44 (4.5, 32.5) (aluminum gasket, silver) |
(3) | Drain plug | (9) | Harness clip | 70 (7.1, 51.6) (copper gasket, brown) | |
(4) | Harness bracket | (10) | Air breather hose | 70 (7.1, 51.6) (metal gasket, black) | |
(5) | Transmission radio ground cord | (11) | Clip | ||
(6) | Clamp | (12) | Hose connector | ||
Transmission case tightening torque

Bolt No.
Bolt size
mm
Tightening torque: N·m (kgf-m, ft-lb)
(5) — (15)
8
25 (2.5, 18.4)
(1) — (4)
(16), (17)
10
39 (4.0, 28.8)
2. DRIVE PINION SHAFT ASSEMBLY

(1) | Drive pinion shaft | (15) | 1st-2nd synchronizer hub | (29) | Lock nut |
(2) | Roller bearing | (16) | 1st-2nd shifting insert | (30) | Thrust bearing |
(3) | Washer | (17) | Reverse driven gear | (31) | Adjusting washer |
(4) | Thrust bearing | (18) | Outer baulk ring | (32) | Differential bevel gear sleeve |
(5) | Needle bearing | (19) | Synchro cone | (33) | Washer |
(6) | Driven shaft | (20) | Inner baulk ring | (34) | Lock washer |
(7) | Key | (21) | 2nd driven gear | (35) | Lock nut |
(8) | Woodruff key | (22) | 2nd driven gear bushing | ||
(9) | Drive pinion collar | (23) | 3rd-4th driven gear | Tightening torque: N·m (kgf-m, ft-lb) | |
(10) | Needle bearing | (24) | Drive pinion shim | T1: | 30 (3.1, 22.1) |
(11) | 1st driven gear | (25) | Double taper roller bearing | T2: | 120 (12.2, 88.5) |
(12) | Inner baulk ring | (26) | Spring washer | T3: | 260 (26.5, 191.8) |
(13) | Synchro cone | (27) | 5th driven gear | ||
(14) | Outer baulk ring | (28) | Lock washer | ||
3. MAIN SHAFT ASSY

(1) | Oil seal | (14) | 4th needle bearing race | (26) | Lock washer |
(2) | Needle bearing | (15) | 4th needle bearing | (27) | Lock nut |
(3) | Main shaft | (16) | 4th gear thrust washer | (28) | Straight pin |
(4) | 3rd needle bearing | (17) | Double ball bearing | (29) | Reverse idler gear shaft |
(5) | 3rd drive gear | (18) | 5th gear thrust washer | (30) | Reverse idler gear washer |
(6) | Inner baulk ring | (19) | 5th needle bearing race | (31) | Reverse idler gear |
(7) | 3rd synchro cone | (20) | 5th needle bearing | (32) | Adjusting washer |
(8) | Outer baulk ring | (21) | Main shaft rear plate | ||
(9) | 3rd-4th coupling sleeve | (22) | 5th drive gear | Tightening torque: N·m (kgf-m, ft-lb) | |
(10) | 3rd-4th synchronizer hub | (23) | 5th baulk ring | T: | 120 (12.2, 88.5) |
(11) | 3rd-4th shifting insert | (24) | Baulk lever | ||
(12) | 4th baulk ring | (25) | 5th hub & sleeve No. 2 | ||
(13) | 4th drive gear | ||||
4. SHIFTER FORK AND SHIFTER ROD

(1) | Shifter arm | (8) | Check ball | (15) | Checking ball spring |
(2) | 5th shifter fork | (9) | 3rd-4th fork rod | (16) | Snap ring (outer) |
(3) | Straight pin | (10) | Interlock plunger | (17) | Reverse fork rod arm |
(4) | Reverse fork rod | (11) | 1st-2nd fork rod | (18) | Reverse shifter lever |
(5) | Checking ball plug | (12) | 3rd-4th shifter fork | ||
(6) | Gasket | (13) | 1st-2nd shifter fork | Tightening torque: N·m (kgf-m, ft-lb) | |
(7) | Checking ball spring | (14) | Check ball | T: | 20 (2.0, 14.8) |
5. TRANSFER CASE AND EXTENSION

(1) | Oil guide | (18) | Adjusting select shim | (34) | Oil seal |
(2) | Gasket | (19) | Reverse check sleeve | (35) | Dust cover |
(3) | Transfer case | (20) | Gasket | (36) | Shift bracket |
(4) | Ball | (21) | Neutral position switch | (37) | Snap ring |
(5) | Reverse accent spring | (22) | Gasket | (38) | Precoat bolt |
(6) | Gasket | (23) | Back-up light switch | (39) | Roller bearing |
(7) | Plug | (24) | Taper roller bearing (transfer case side) | (40) | Transmission hanger |
(8) | Oil seal | (25) | Transfer driven gear | (41) | Dish plate |
(9) | Snap ring (inner) | (26) | Taper roller bearing (extension case side) | ||
(10) | Reverse check plate | (27) | Adjusting washer | Tightening torque: N·m (kgf-m, ft-lb) | |
(11) | Reverse check spring | (28) | Ball bearing | T1: | 6.4 (0.7, 4.7) |
(12) | Reverse return spring | (29) | Center differential | T2: | 9.75 (1.0, 7.2) |
(13) | Reverse check cam | (30) | Adjusting washer | T3: | 24.5 (2.5, 18.1) |
(14) | Reverse accent shaft | (31) | Transfer drive gear | T4: | 26 (2.7, 19.2) |
(15) | Return spring cap | (32) | Ball bearing | T5: | 32.3 (3.3, 23.8) |
(16) | Return spring | (33) | Extension case | T6: | 40 (4.1, 29.5) |
(17) | O-ring | ||||
6. FRONT DIFFERENTIAL

(1) | Drive pinion shaft | (7) | Differential bevel pinion | (13) | Retainer lock plate |
(2) | Hypoid driven gear | (8) | Taper roller bearing | ||
(3) | Pinion shaft | (9) | Differential case | Tightening torque: N·m (kgf-m, ft-lb) | |
(4) | Straight pin | (10) | Oil seal | T1: | 25 (2.5, 18.4) |
(5) | Adjusting washer | (11) | Differential side retainer | T2: | 62 (6.3, 45.7) |
(6) | Differential bevel gear | (12) | O-ring | ||
7. TRANSMISSION MOUNTING

(1) | Pitching stopper | (7) | Upper cushion rubber | Tightening torque: N·m (kgf-m, ft-lb) | |
(2) | Spacer | (8) | Center crossmember | T1: | 35 (3.6, 25.8) |
(3) | Lower cushion rubber | (9) | Rear plate | T2: | 50 (5.1, 36.9) |
(4) | Front plate | (10) | Front crossmember | T3: | 58 (5.9, 42.8) |
(5) | Transmission cushion rubber | (11) | Rear cushion rubber | T4: | 70 (7.1, 51.6) |
(6) | Rear crossmember | T5: | 140 (14.3, 103.3) | ||
Specification
Preparation toolBasic diagnostic procedure Procedure
OCCUPANT DETECTION SYSTEM (DIAGNOSTICS) > Basic Diagnostic ProcedurePROCEDURESTEPCHECKYESNO1.CHECK WARNING LIGHT.Check whether the airbag warning light in the combination meter is lit.Does the airbag warning light illuminate? Basic Diagnostic Procedure > PROCEDURE">Go to Step 2.Perform ...
Dtc p0011 "a" camshaft position - timing over-advanced or system performance bank 1
ENGINE (DIAGNOSTICS)(H4DO) > Diagnostic Procedure with Diagnostic Trouble Code (DTC)DTC P0011 "A" CAMSHAFT POSITION - TIMING OVER-ADVANCED OR SYSTEM PERFORMANCE BANK 1DTC detecting condition:Detected when two consecutive driving cycles with fault occur.Trouble symptom:• Engine sta ...
Inspection
EMISSION CONTROL (AUX. EMISSION CONTROL DEVICES)(H4DO) > EGR Control ValveINSPECTION1. Check that the EGR control valve has no deformation, cracks or other damages.2. Measure the resistance between EGR control valve terminals.Terminal No.Standard2 and 122±2 ?2 and 322±2 ?5 and 422±2 ?5 and 622 ...