EXTERIOR/INTERIOR TRIM > General Description
COMPONENT
1. FRONT UNDER COVER

(1) | Under cover - front | (3) | Spacer - under cover | Tightening torque: N·m (kgf-m, ft-lb) | |
(2) | Mud guard - front | T: | 18 (1.84, 13.3) | ||
2. MUD GUARD

(1) | Under cover - front | (2) | Mud guard - front | (3) | Mud guard - rear |
3. FLOOR UNDER PROTECTOR

Tightening torque: N·m (kgf-m, ft-lb) | |||||
T: | 7.5 (0.76, 5.5) | ||||
4. FUEL TANK PROTECTOR
For exploded view of the fuel tank protector, refer to “FUEL TANK” of “FUEL INJECTION” section. General Description > COMPONENT">
5. PROTECTOR OIL COVER

(1) | Protector oil cover RH | (2) | Protector oil cover LH | Tightening torque: N·m (kgf-m, ft-lb) | |
T: | 100 (10.2, 73.3) | ||||
6. FRONT BUMPER

(1) | Bracket - grille | (8) | Cover - fog light A | Tightening torque: N·m (kgf-m, ft-lb) | |
(2) | Ring - front grille | (9) | Radiator gasket | T1: | 7.5 (0.76, 5.5) |
(3) | Ornament front | (10) | Bracket - front center LWR | T2: | 32 (3.26, 23.6) |
(4) | Front grille ASSY | (11) | Bracket - front bumper corner | T3: | 65 (6.63, 47.9) |
(5) | Cover - front bumper A | (12) | Bracket - front bumper side | ||
(6) | Bumper face - front | (13) | Gusset COMPL - front side | ||
(7) | Under spoiler - front | (14) | Bumper beam COMPL - front | ||
7. REAR BUMPER

(1) | Bumper beam COMPL - rear | (6) | Bracket - rear bumper lower | Tightening torque: N·m (kgf-m, ft-lb) | |
(2) | Bracket - rear bumper side | (7) | Cover - rear bumper A | T1: | 7.5 (0.76, 5.5) |
(3) | Bracket - rear bumper corner | (8) | Cover - rear bumper B (without rear fog light) | T2: | 70 (7.14, 51.6) |
(4) | Rear fog light ASSY | (9) | Bumper face - rear | ||
(5) | Reflex reflector | (10) | Cover - rear bumper side | ||
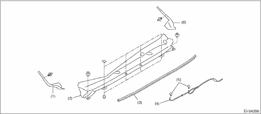
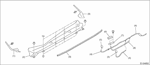
8. COWL PANEL
• Models without EyeSight

(1) | Cowl panel - side RH | (3) | Seal - front panel | (5) | Nozzle - windshield washer |
(2) | Cowl panel ASSY | (4) | Hose - windshield washer | (6) | Cowl panel - side LH |
• Models with EyeSight

(1) | Cowl panel - side RH | (4) | Hose - windshield washer | (7) | Joint - washer hose |
(2) | Cowl panel ASSY | (5) | Nozzle - windshield washer | (8) | Hose - wiper arm |
(3) | Seal - front panel | (6) | Cover - joint | (9) | Cowl panel - side LH |
9. SIDE GARNISH

(1) | Garnish ASSY - fender | (2) | Garnish ASSY - rear quarter | (3) | Garnish ASSY - side sill |
10. ROOF MOLDING

(1) | Rivet | (5) | Flange nut | Tightening torque: N·m (kgf-m, ft-lb) | |
(2) | Molding - roof | (6) | Bracket - molding roof | T: | 7.5 (0.76, 5.5) |
(3) | Fastener | (7) | Molding - roof front (model with roof rail) | ||
(4) | Cap - molding | (8) | Molding - roof rear (model with roof rail) | ||
11. ROOF RAIL

(1) | Self-locking nut | Tightening torque: N·m (kgf-m, ft-lb) | |||
T: | 7.5 (0.76, 5.5) | ||||
12. ROOF SPOILER

(1) | Roof spoiler | (3) | Cap | Tightening torque: N·m (kgf-m, ft-lb) | |
(2) | High-mounted stop light ASSY | T1: | 4.5 (0.46, 3.3) | ||
T2: | 7.5 (0.76, 5.5) | ||||
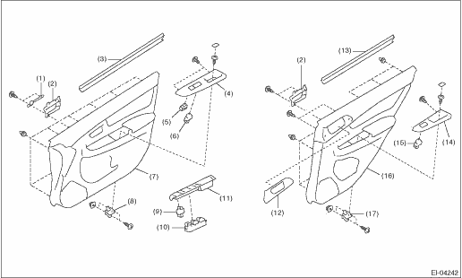
13. DOOR TRIM

(1) | Plate | (7) | Trim panel - front door | (13) | Weather strip - door rear INN |
(2) | Remote ASSY - door | (8) | Bracket - door trim front | (14) | Panel - power window sub-switch rear |
(3) | Weather strip - door front INN | (9) | Switch - door mirror | (15) | Switch - power window sub rear |
(4) | Panel - power window sub-switch front | (10) | Switch - power window main | (16) | Trim panel - rear door |
(5) | Switch - door lock sub | (11) | Panel - power window main switch | (17) | Bracket - door trim rear |
(6) | Switch - power window sub front | (12) | Cover - remote rear door |
14. CONSOLE BOX

(1) | Console box, rear | (9) | Switch - seat heater | (17) | Cover front (MT model) |
(2) | Accessory socket | (10) | Cap - console box | (18) | Boot - shift lever (MT model) |
(3) | Cap | (11) | Console box | ||
(4) | AUX unit | (12) | Boot - parking brake | Tightening torque: N·m (kgf-m, ft-lb) | |
(5) | Pocket console box RH | (13) | Lid ASSY - console box (fixed type) | T1: | 6.5 (0.66, 4.8) |
(6) | Bracket - console box | (14) | Lid ASSY - console box (sliding type) | T2: | 18 (1.84, 13.3) |
(7) | Cup holder | (15) | Mat | ||
(8) | Pocket console box LH | (16) | Cover front (CVT model) | ||
15. INSTRUMENT PANEL

(1) | Panel - switch | (8) | Pocket ASSY | (15) | Reinforcement - passenger |
(2) | Ornament - panel ASSY driver | (9) | Key cylinder - pocket | (16) | Cover - instrument panel side RH |
(3) | Lid ASSY - fuse box | (10) | Back panel - pocket | (17) | Grille speaker side RH |
(4) | Cover ASSY - instrument panel LWR driver OUT | (11) | Light - pocket | (18) | Cap - guide pin |
(5) | Cover ASSY - instrument panel LWR driver INN | (12) | Holder | (19) | Panel COMPL - instrument |
(6) | Panel center LWR LH | (13) | Under cover ASSY - passenger | (20) | Grille speaker side LH |
(7) | Panel center LWR RH | (14) | Damper COMPL - pocket | (21) | Cover - instrument panel side LH |

(1) | Speaker ASSY - tweeter LH | (9) | Switch - push button start | (17) | Speaker ASSY - tweeter RH |
(2) | Grille defroster - front LH | (10) | Panel - switch | (18) | Sensor - rain |
(3) | Grille ASSY - ventilation LH | (11) | Case - sensor | (19) | Sunload sensor |
(4) | Combination meter ASSY | (12) | Cover - switch starter | (20) | Cap |
(5) | Antenna ASSY - GPS | (13) | Ornament - panel ASSY passenger | (21) | Grille front defroster |
(6) | Reinforcement - combination meter | (14) | Grille ASSY - ventilation RH | (22) | Cushion |
(7) | SUB antenna ASSY - telematics | (15) | Grille defroster - front RH | ||
(8) | Visor - combination meter | (16) | Panel COMPL - instrument |

(1) | Grille ASSY - CTR ventilation LH | (8) | Heater control ASSY | (15) | Multi-function display ASSY |
(2) | Grille ASSY - CTR ventilation RH | (9) | Bracket - audio | ||
(3) | Panel center ASSY | (10) | Reinforcement - CTR LWR | Tightening torque: N·m (kgf-m, ft-lb) | |
(4) | Audio ASSY | (11) | Panel COMPL - instrument | T1: | 7 (0.71, 5.2) |
(5) | Cap | (12) | Cover center UPR | T2: | 7.5 (0.76, 5.5) |
(6) | Socket ASSY | (13) | Panel - display LWR | ||
(7) | Back panel - center pocket | (14) | Panel - display UPR | ||

(1) | Panel COMPL - instrument | (5) | TORX® bolt (M8 ? 57) | Tightening torque: N·m (kgf-m, ft-lb) | |
(2) | TORX® bolt (M8 ? 37) | (6) | Adjuster - clip space | T1: | 7 (0.71, 5.2) |
(3) | Passenger’s airbag module | (7) | Knee airbag module | T2: | 7.5 (0.76, 5.5) |
(4) | Beam COMPL - steering | T3: | 25 (2.55, 18.4) | ||

(1) | Panel COMPL - instrument | (4) | Duct - center vent | (7) | Nozzle - front defroster |
(2) | Duct - side defroster LH | (5) | Duct - side defroster RH | (8) | Insulator - instrument |
(3) | Duct - side ventilation LH | (6) | Duct - side ventilation RH | (9) | Insulator - airbag |
16. INNER TRIM

(1) | Tether clip | (7) | Trim panel - center pillar LWR | (13) | Lid upper rear |
(2) | Trim panel - front pillar UPR | (8) | Cover - catcher | ||
(3) | Cover side sill - front | (9) | Cover side sill - rear INN | Tightening torque: N·m (kgf-m, ft-lb) | |
(4) | Cover side sill - front INN | (10) | Trim panel - rear quarter UPR | T: | 7.5 (0.76, 5.5) |
(5) | Clip | (11) | Trim panel - rear apron | ||
(6) | Trim panel - center pillar UPR | (12) | Cap - rear strut | ||

(1) |
Preparation tool
Glove boxDtc u0155 lost communication with instrument panel cluster (ipc) control module
EyeSight (DIAGNOSTICS) > Diagnostic Procedure with Diagnostic Trouble Code (DTC)DTC U0155 LOST COMMUNICATION WITH INSTRUMENT PANEL CLUSTER (IPC) CONTROL MODULEDetected when CAN data from combination meter is not transmitted to stereo camera.NOTE:Perform the diagnosis for LAN system. Basic Diagno ...
Inspection locations after a collision Inspection
AIRBAG SYSTEM > Inspection Locations after a CollisionINSPECTIONIf the vehicle is involved in a collision, even if it is a slight collision, be sure to check the following systems.1. DRIVER’S AIRBAG MODULE ASSEMBLY1. Frontal collision (driver’s airbag module assembly activated)(1) Rep ...
Bypass screen setting
1. Perform the preparation steps according
to "Preparation for screen settings"
2. Operate the "
" or "
" switch to
select the "Bypass Screen" item. Then
push the
button.
3. Select the item to set by operating the
"
" or "
" switches. Then push the
button ...