CONTINUOUSLY VARIABLE TRANSMISSION(TR580) > Transfer Clutch
ASSEMBLY
1. Install the transfer clutch piston.
NOTE:
Apply CVTF to the transfer clutch piston lip.
2. Install the return spring.

3. Install the transfer clutch piston seal.
NOTE:
Apply CVTF to the lip section of transfer clutch piston seal.

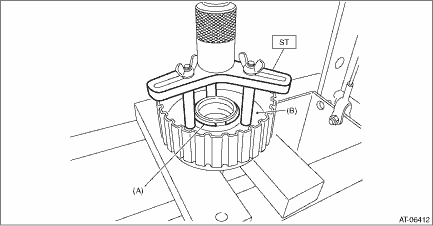
4. Compress the return spring using the ST to install the snap ring.
| ST 18762AA001 | COMPRESSOR SPECIAL TOOL |

(A) | Snap ring |
(B) | Transfer clutch piston seal |
5. Install the pressure plate, driven plate, drive plate and snap ring.

(A) | Snap ring |
6. Blow compressed air through transfer clutch assembly hole, and check the transfer clutch piston operation.
NOTE:
Plug the holes through which the compressed air is not blown.

7. Before measuring clearance “A”, place same thickness shims on both sides to prevent the plate from tilting.
8. When the clearance “A” exceeds the limit for use, select the transfer clutch plate set and pressure plate, and adjust the clearance “A” within the initial specified value.
Initial standard:
0.7 — 1.1 mm (0.028 — 0.043 in)
Limit thickness:
1.3 mm (0.051 in)

(1) Measure the thickness of the pressure plate for the transfer clutch plate set that has been used before replacement.
(2) Select the transfer clutch plate set that uses the pressure plate of which the value is close to the measured value in (1), and check the clearance “A”.
Transfer clutch plate set | |
Part No. | Pressure plate thickness mm (in) |
31523AA370 | 3.3 (0.130) |
31523AA380 | 3.7 (0.146) |
31523AA390 | 4.1 (0.161) |
31523AA400 | 4.5 (0.177) |
(3) When the clearance “A” exceeds the limit for use in step (2), replace the pressure plate installed on the lower side of the transfer clutch plate set, and check the clearance “A” again.
Pressure plate | |
Part No. | Thickness mm (in) |
31593AA151 | 3.3 (0.130) |
31593AA161 | 3.7 (0.146) |
(4) When the clearance “A” exceeds the limit for use in step (3), select the transfer clutch plate set that was not used in step (2), and adjust the clearance “A” again.
9. Check the clearance between snap ring and pressure plate. Transfer Clutch > INSPECTION">
10. Using the ST, install the ball bearing.
NOTE:
Use a new ball bearing.
| ST1 398177700 | INSTALLER |
| ST2 499277000 | INSTALLER |

Removal
DisassemblyInspection
INSTRUMENTATION/DRIVER INFO > Steering SwitchINSPECTION1. Measure the resistance between switch terminals.Preparation tool:Circuit testerTerminal No.Inspection conditionsStandard3 — 2 (UP)i/SET (DOWN)All OFFApprox. 1 M? or more (UP)ONLess than 1 ?i/SETONApprox. 1,000 ? (DOWN)ONApprox. 3,670 ?2. ...
Cooling and dehumidifying in high humidity and low temperature weather
conditions
Under certain weather conditions (high
relative humidity, low temperatures, etc.) a
small amount of water vapor emission
from the air outlets may be noticed. This
condition is normal and does not indicate
any problem with the air conditioning
system.
Air conditioner compressor shut-off when e ...
Assembly
POWER ASSISTED SYSTEM (POWER STEERING) > Electric Power Steering GearboxASSEMBLY1. Install the tie-rod into rack.Tightening torque:90 N·m (9.18 kgf-m, 66.4 ft-lb)NOTE:Check the mating face of rack and tie-rod for foreign matter such as dust etc.2. Apply a coat of grease to the tie-rod groo ...