In the Subaru Ascent, the windshield wiper system is designed to operate only when the ignition switch is set to the "ON" or "ACC" position, ensuring both safety and energy efficiency during vehicle use.
Windshield wipers (models with automatic rain sensing windshield wipers)

/ MIST: Mist (for a single wipe)
/ OFF: Off
/ AUTO: Automatic operation
/ LO: Low speed
/ HI: High speed
To activate the windshield wipers in the Subaru Ascent, push the wiper control lever downward. When the selector is set to the "AUTO" mode, the intelligent rain sensor continuously monitors the windshield surface and automatically engages the wipers once precipitation is detected. The wiping frequency dynamically adapts depending on the intensity of the rain, delivering optimal visibility without driver intervention.
To deactivate the system, return the lever to the "
"/"OFF"
position.
For a quick, single wipe of the windshield, lift the lever upward. The wipers will operate only while the lever is held in that position, allowing precise manual control when needed.
NOTE
Within the Subaru Ascent, the automatic wiping logic can be reconfigured from a rain-sensing mode to a vehicle-speed-dependent intermittent mode. This adjustment requires dealer-level configuration. For precise setup and optimization, it is recommended to contact an authorized SUBARU service center.
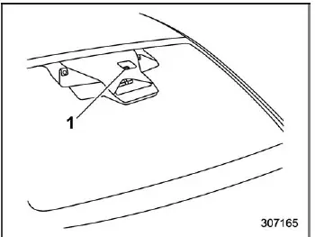
Rain sensor

The rain sensor in the Subaru Ascent is positioned on the windshield glass and is responsible for detecting moisture levels and controlling automatic wiper activation.
Sensor sensitivity control

Adjust the sensitivity of the rain sensor by rotating the control dial. Turning the dial downward increases sensitivity, enabling quicker response to light rain, while rotating it upward decreases sensitivity for calmer operation during minimal precipitation.
Windshield wipers (models without automatic rain sensing windshield wipers)

/ MIST: Mist (for a single wipe)
/ OFF: Off
/ INT: Intermittent
/ LO: Low speed
/ HI: High speed
To engage the wipers in non-rain-sensing Subaru Ascent models, move the control lever downward. Each position corresponds to a different wiping mode, allowing the driver to manually adapt to weather conditions.
To turn the system off, return the lever to the "
"/"OFF"
position.
For a single wipe, pull the lever upward. The blades will continue to operate only while the lever is held, providing momentary control.
Wiper intermittent time control

When the wiper switch is in the "
"
position, rotate the dial to fine-tune the delay between wipes. The Subaru Ascent
allows multiple interval settings, ranging from rapid cycles to extended pauses
for light precipitation.
Windshield washer

To clean the windshield, pull the control lever toward you. Washer fluid will be sprayed onto the glass while the wipers operate simultaneously, ensuring effective removal of dirt, debris, and road grime.

Windshield washer fluid warning
NOTE
In the Subaru Ascent, the washer fluid warning light illuminates when the fluid level drops below the minimum threshold. Prompt refilling is essential to maintain clear visibility. Refer to the dedicated section on washer fluid maintenance for detailed instructions.
Wiper and washer
Rear window wiper and washer switchUser recognition function
WARNING
Always complete registration, retrieval, or deletion of seat position and
outside mirror angle settings before starting to drive the Subaru Ascent. Attempting
to adjust or manage these personalized settings while the vehicle is in motion can
distract the driver and significantly incre ...
Dtc p060b internal control module a/d processing performance
ENGINE (DIAGNOSTICS)(H4DO) > Diagnostic Procedure with Diagnostic Trouble Code (DTC)DTC P060B INTERNAL CONTROL MODULE A/D PROCESSING PERFORMANCENOTE:For the diagnostic procedure, refer to DTC P0606. Diagnostic Procedure with Diagnostic Trouble Code (DTC) > DTC P0606 CONTROL MODULE PROCESSOR&q ...
Dtc u0126 lost communication with steering angle sensor module
LAN SYSTEM (DIAGNOSTICS) > Diagnostic Procedure with Diagnostic Trouble Code (DTC)DTC U0126 LOST COMMUNICATION WITH STEERING ANGLE SENSOR MODULEDTC DETECTING CONDITION:No data is received from steering angle sensor.TROUBLE SYMPTOM:VDC CM does not operate normally.STEPCHECKYESNO1.CHECK PERFORMING ...