DIFFERENTIALS > Rear Differential Side Oil Seal
REPLACEMENT
1. Remove the rear differential. Rear Differential (T-type) > REMOVAL">
Rear Differential (VA-type) > REMOVAL">
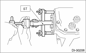
2. Remove the rear differential side oil seal using a ST or screwdriver wrapped with vinyl tape to prevent the side retainer from scratching.
| ST 398527700 | PULLER ASSY |

3. Using the ST, install the oil seal.
CAUTION:
Pay attention to the left and right of the oil seal.
NOTE:
• Use a new oil seal.
• Apply differential gear oil to the oil seal lips.
• T-type
| ST 398437700 | OIL SEAL INSTALLER |

• VA1-type
| ST 498447100 | INSTALLER |

4. Install the rear differential. Rear Differential (T-type) > INSTALLATION">
Rear Differential (VA-type) > INSTALLATION">
Inspection
Front differential assembly NoteFloor mat (if equipped)
CAUTION
If the floor mat slips forward and
interferes with the movement of the
pedals during driving, it could cause
an accident. Observe the following
precautions to prevent the floor mat
from slipping forward.
Be sure to use a genuine
SUBARU floor mat or an equivalent
designed wi ...
Dtc p2757 torque converter clutch pressure control solenoid control circuit performance/stuck off
CONTINUOUSLY VARIABLE TRANSMISSION (DIAGNOSTICS) > Diagnostic Procedure with Diagnostic Trouble Code (DTC)DTC P2757 TORQUE CONVERTER CLUTCH PRESSURE CONTROL SOLENOID CONTROL CIRCUIT PERFORMANCE/STUCK OFFDTC detecting condition:Detected when two consecutive driving cycles with fault occur.Trouble ...
Vehicle capacity weight
Vehicle placard
The load capacity of your vehicle is
determined by weight, not by available
cargo space. The maximum load you can
carry in your vehicle is shown on the
vehicle placard attached to the driver's
side door pillar. It includes the total weight
of the driver and all passeng ...